nettoyant

em>nettoyant /em>
图片尺寸591x591
em>nettoyant /em>
图片尺寸598x594
nettoyant
图片尺寸500x500
nettoyant wc fra06cheur marine 750ml - ecover
图片尺寸390x208
docteur renaud gel moussant nettoyant framboise 200 ml
图片尺寸342x500
nettoyant bio-actif
图片尺寸768x675
nettoyant fioul gasoil 5l pronet sur sol pompe cuve citerne
图片尺寸338x500
agent antiviral et produit nettoyant
图片尺寸2658x1706
yon-ka gel nettoyant facial cleanser (200ml) lightweight
图片尺寸880x573
fluide mousse nettoyant
图片尺寸600x229
emtec spray nettoyant universel antistatique 250ml
图片尺寸254x400
loccitane radieux nettoyant radieux 200 ml
图片尺寸458x458
nettoyant lingettes pour manucure, conseils dart, 900 p
图片尺寸800x800
agent antiviral et produit nettoyant
图片尺寸2589x1630
composition dagent nettoyant-décontaminant, notamment pour
图片尺寸1712x857
fluide mousse nettoyant
图片尺寸600x229
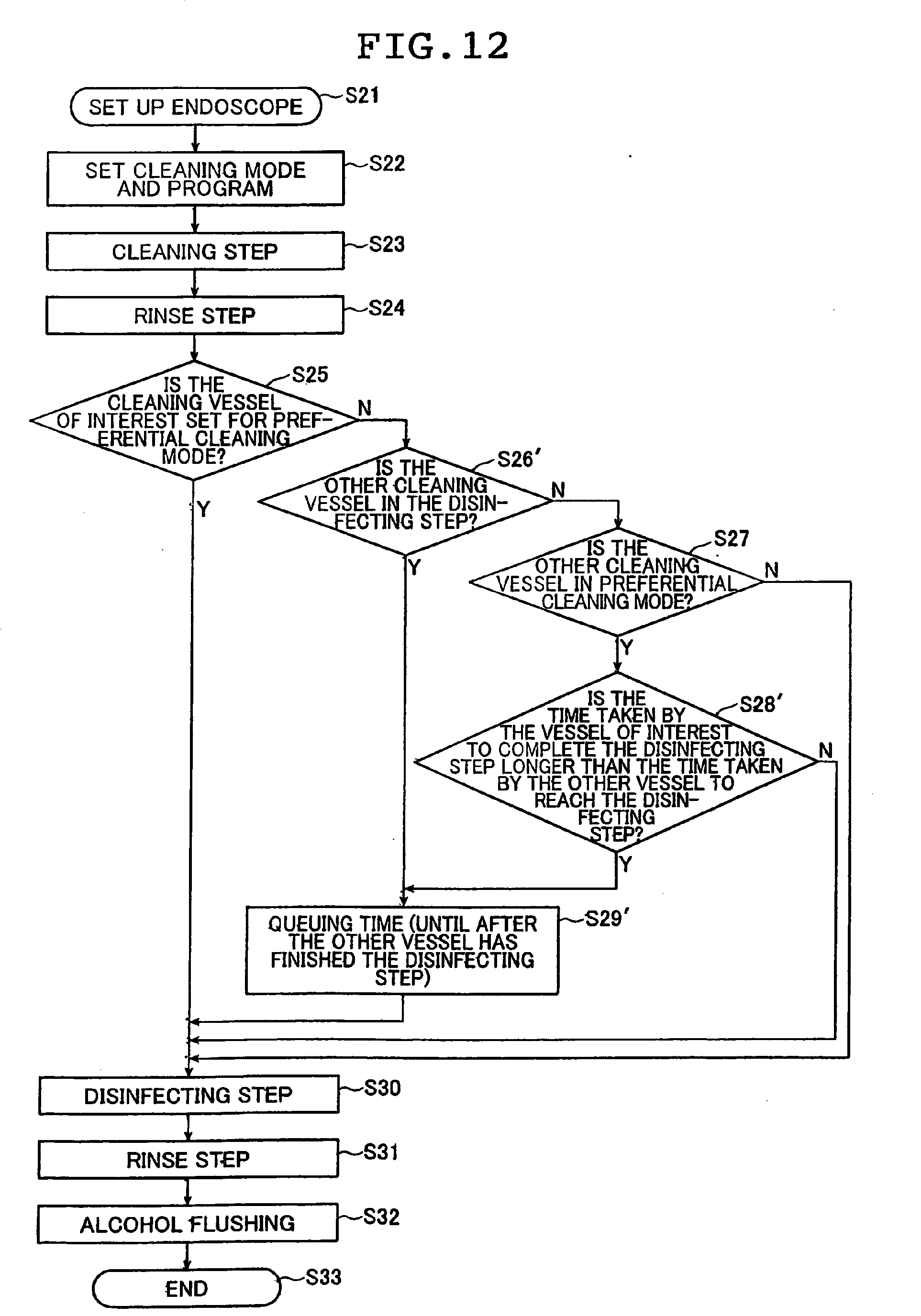
nettoyant dendoscope
图片尺寸1925x2752
护肤品
图片尺寸1080x810
nettoyant pour le visage relle skincare
图片尺寸1500x1000
agent antiviral et produit nettoyant
图片尺寸2637x1706