orifice meter

good quality portable steam air flow meter orifice plate flow
图片尺寸1440x1080
handheld portable ph orp meter
图片尺寸800x800
orifice plate flowmeter with low price orifice meter flow rate
图片尺寸700x933
orificeofvermiformappendix5盲肠cecum回肠末端向盲肠的开口称回盲口
图片尺寸817x923
orifice plate meter with integral fittings/orifice flow meter
图片尺寸800x780
differential-pressure flow meter / orifice / for liquids
图片尺寸1000x941
standard stainless steel orifice plate meter
图片尺寸924x924
high performance orifice plate flow meter 5-7 years life for gas
图片尺寸850x650
chinaflowmeterorifice
图片尺寸1080x1080
standardstainlesssteelorificeplatemeterhighprecisiongasorifice
图片尺寸462x462
multiple orifice ultrasonic meter for measuring flow of specific
图片尺寸2320x3408
good quality portable steam air flow meter orifice plate flow
图片尺寸3648x2736
赛默飞发布新一代奥立龙aquamate系列水质分析仪
图片尺寸2931x2573
chinaorificemeter
图片尺寸800x800
differential pressure type flow meter orifice plate flowmeter
图片尺寸640x640
compactorificeflowmeter
图片尺寸552x540
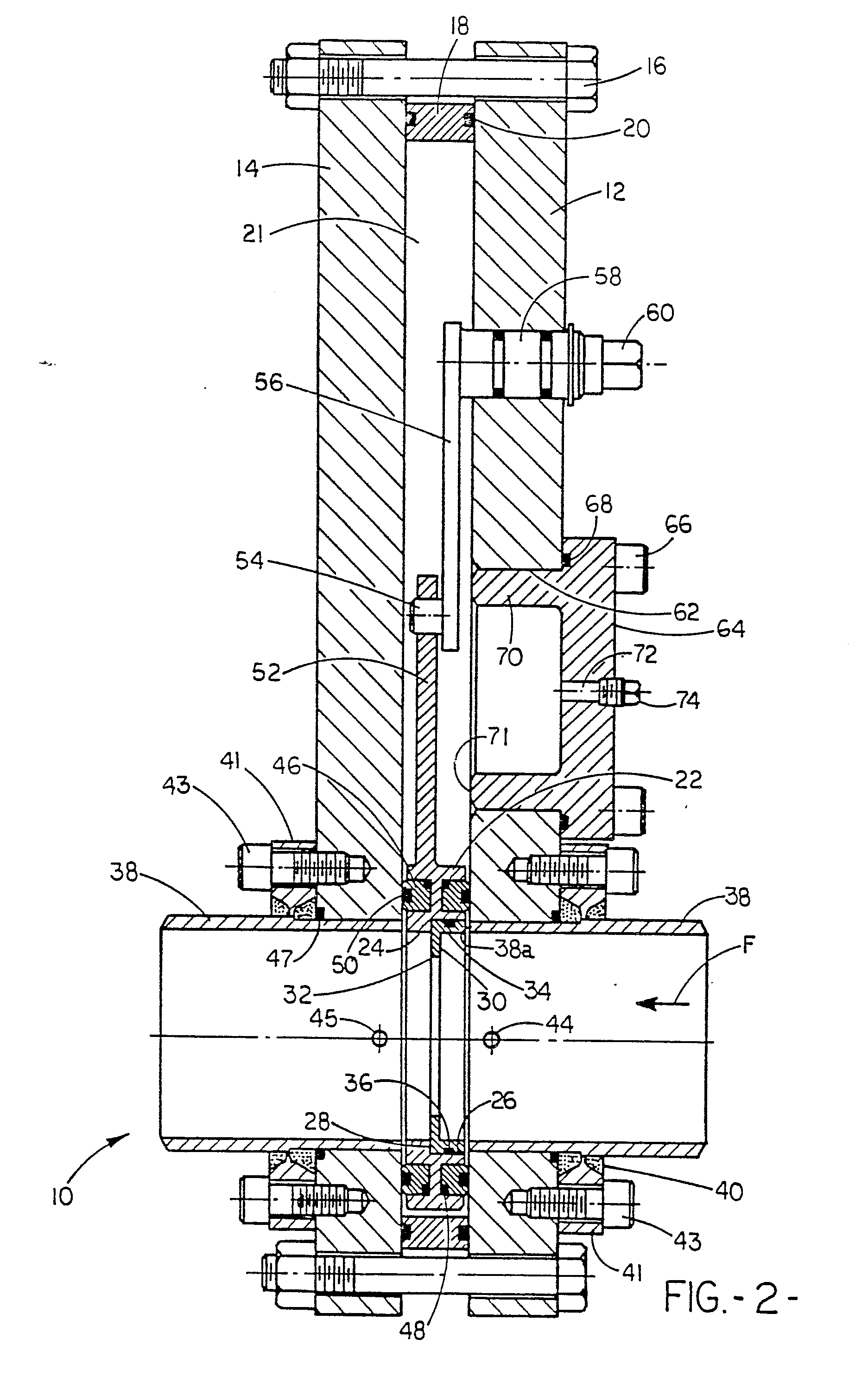
orifice meter
图片尺寸1873x2970
cx-ofm orifice flow metermedical flow sensor
图片尺寸700x350
kaifeng manufacturing liquid gas flowmeter orifice plate flow
图片尺寸1000x1000
venturimeter & orifice meter test rig
图片尺寸375x500