paging

jpg&gallery_name=34_3d&paging=0
图片尺寸400x710
预订web design patterns in the health sector: paging
图片尺寸267x400
androidjetpackpaging的使用详解
图片尺寸1600x808
pagingpro voice alarm wireless caregiver pager for elderl
图片尺寸880x573
安卓开发分页库paging使用注意事项,看了这几点或许可以少走弯路
图片尺寸1280x800
【预订】paging the dead
图片尺寸258x400
paging dr. freud
图片尺寸800x950
setpagingparam
图片尺寸499x500
海外直订医药图书paging dr.
图片尺寸800x800
jpg&gallery_name=34_3d&paging=126
图片尺寸640x1136
>paging_init()开始初始化分页机制paging_init负责建立只能用于暮怂
图片尺寸1065x614
the chicago manual of style.
图片尺寸265x400
安卓开发:关于paging库中的分页原理,你都弄清楚了吗?
图片尺寸2000x1081
jetpack成员paging3网络实践及原理分析二
图片尺寸1848x418
地址区间physical/real memory 物理/实内存,是服务器的真实rampaging
图片尺寸1351x672
【预订】paging the dead
图片尺寸500x500
android jetpack套件之paging分页组件
图片尺寸800x450
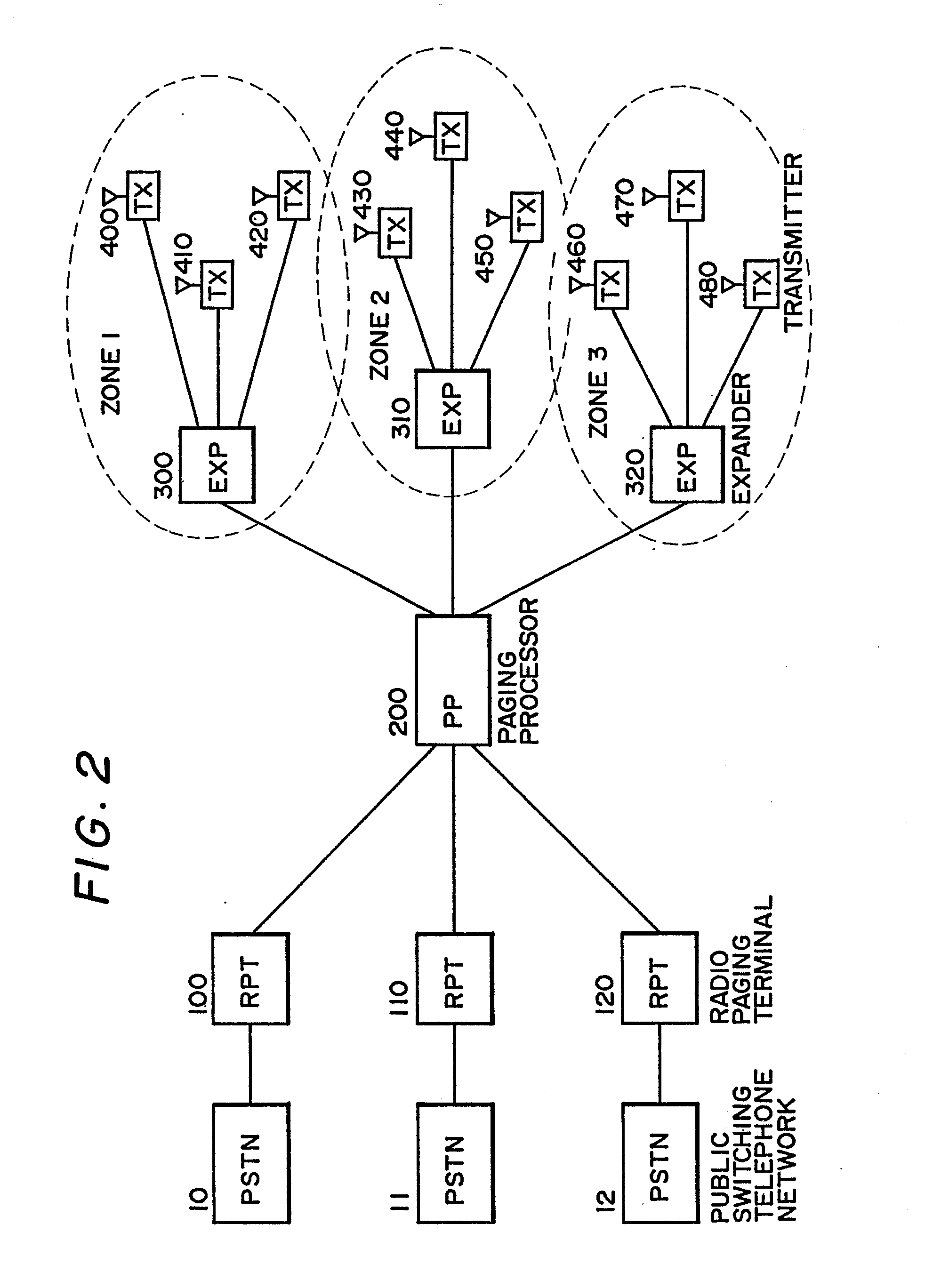
a paging system
图片尺寸1965x2737
androidpaging组件在mvvm架构中的使用指南一
图片尺寸1494x841
jpg&gallery_name=34_3d&paging=84
图片尺寸640x1136