panic of malfunction

collection of memories in uk20198.
图片尺寸828x928
产生一种……情感/某人感到…a burst/wave/feeling/sense/surge of
图片尺寸1080x1440
bataille de solférino电影别 名:错在腾鸡普选时(港) age of panic
图片尺寸1142x1600
screams and smoke filled the air and the panic of the loss
图片尺寸1969x1216
at the disco/60094858" data-lemmaid="60094858">panic!
图片尺寸1425x1425
rats, snakes on a bus spark panic, investigation in china
图片尺寸900x600
misuse of data is not your friend they cry.
图片尺寸530x360
you will increase your understanding of panic attacks and
图片尺寸1701x1200
shaft covers ironmongery panic bars locks handles hinges closers
图片尺寸1000x1000
page 8 of planet panic is up!a heavy burden!
图片尺寸500x265
10 wardrobe malfunctions of bollywood actresses
图片尺寸390x600
dont panic carry towel
图片尺寸320x480
with each death creating an atmosphere of panic in the small
图片尺寸1024x564
watchdog circuits that can be used to detect malfunctions
图片尺寸1541x556
什么是恐慌症 (panic disorder)以及如何诊断?
图片尺寸1080x1080
but the old man always thought of her as feminine and as
图片尺寸2556x1728
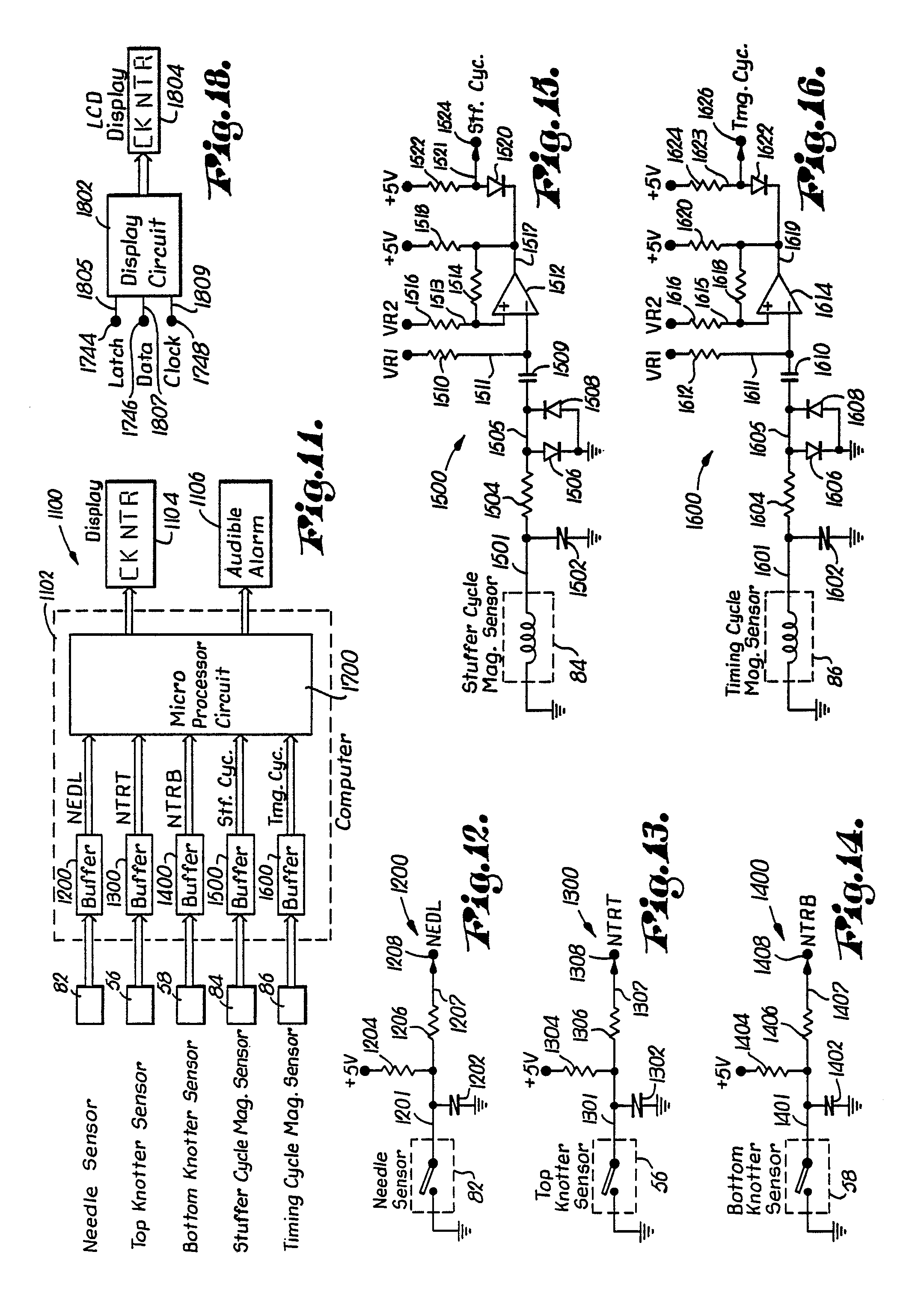
monitoring system for detecting malfunction of knotting
图片尺寸2159x3062
dont panic
图片尺寸600x700
pump malfunctions, the driver will experience a sudden loss of
图片尺寸720x401
exhibitions | modern panic 5
图片尺寸1920x1280