patent filing

阿达帕林凝胶(达芙文)
图片尺寸1000x1000
mastercard patent filing outlines way to anonymize crypto
图片尺寸1000x667
record filing unit
图片尺寸2320x3408
filing device
图片尺寸2320x3408
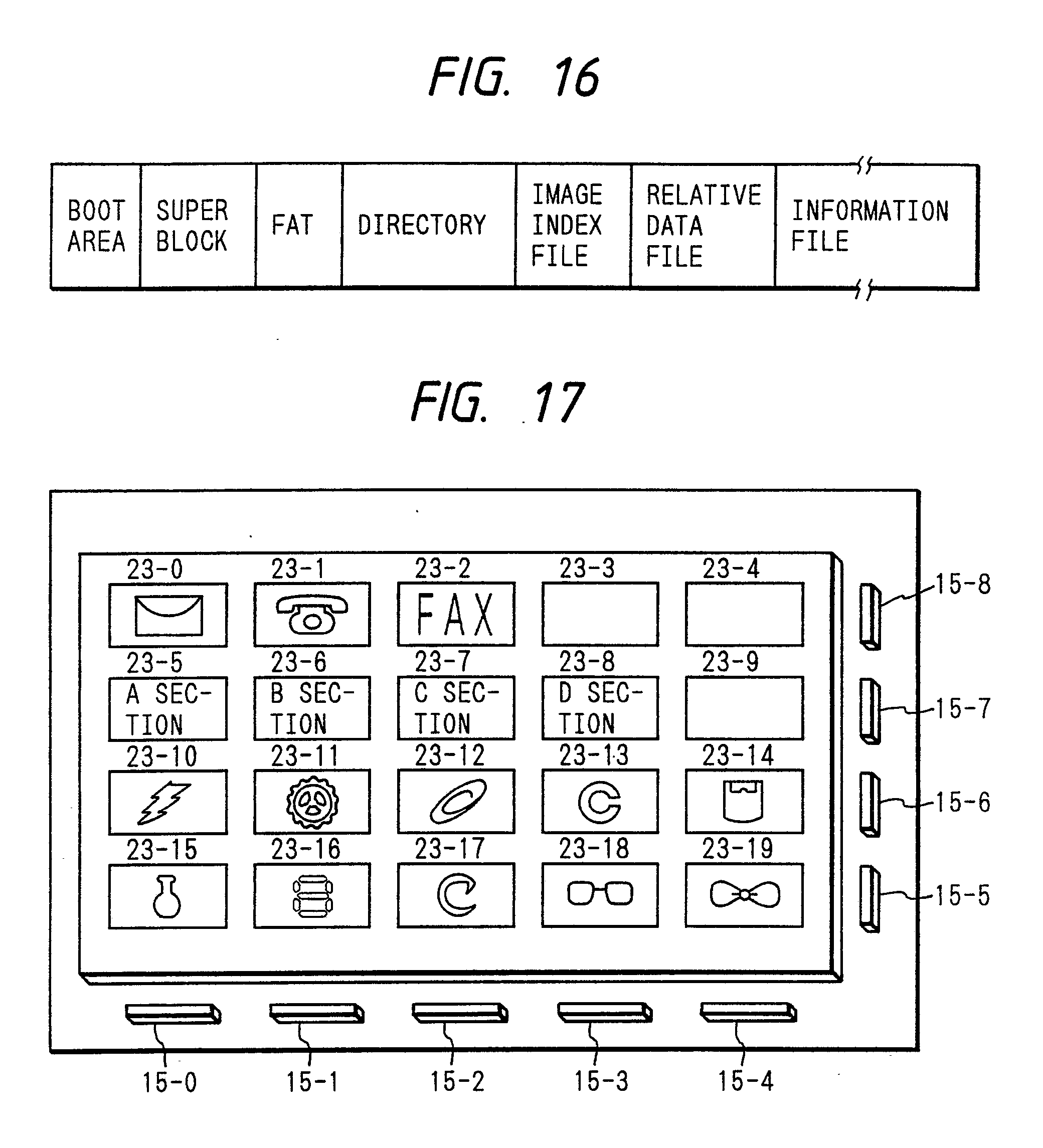
handy image data filing apparatus
图片尺寸2320x3408
electronic filing apparatus and method of retrieving image
图片尺寸2080x2290
【预订】patent filing strategies and patent management: an
图片尺寸500x500
endoscope image filing system and method
图片尺寸1701x2752
apparatus for filing cases with bag containing deformable
图片尺寸2487x2988
smart on-line filing system
图片尺寸1809x1824
预订 patent filing strategies and patent management: an
图片尺寸282x400
image data filing system for quickly retrieving an area of
图片尺寸2320x3408
electronic filing apparatus for retrieving image information
图片尺寸2320x3408
electronic filing system with file-placeholders
图片尺寸2753x2695
apparatus for filing cases with bag containing deformable
图片尺寸2142x3399
filing system
图片尺寸2108x1887
data filing system for endoscope
图片尺寸2454x3466
booklet and document filing device
图片尺寸2320x3408
patent drawing
图片尺寸1872x1265
patent drawing
图片尺寸2650x3081