pcr摸轴器

耐思pcr系列产品_价格-bv韦德体育app-厂家
图片尺寸720x480
生物自动分析仪病毒免疫荧光分析仪电解质分析仪临床检验仪器设备pcr
图片尺寸104x150
升高吧,不会真有人以为工会boss简单保前5000就可以不摸轴随便打了吧
图片尺寸500x500
【布摸轴】佳达隆全pom奶昔轴丨出乎意料的hifi丨你小子才是真的空灵
图片尺寸1728x1080
3d超景深显微镜的3d测量功能通过z轴的对焦模块与图像系统可快速获取
图片尺寸600x430
英godbaby#04#张元英ive1201出道快乐#211221 dazed杂志图饭修4pcr
图片尺寸690x900
【求助】请教pcr高手解答电泳结果,分析错误原因
图片尺寸3264x1952
摸轴,凹立绘,一步步和星极一起走向更高的合约等级#游戏日常 - 抖音
图片尺寸1920x864
英樱桃甜兔#9515#张元英广告天才#211104 ive元英公式照饭修3pcr
图片尺寸690x1036
类的主动脉转录组数据,并通过对人主动脉样本进行实时定量pcr加以验证
图片尺寸1080x650
perkinelmerjanusg3自动化pcr体系构建工作站能帮你解决哪些困难
图片尺寸796x496
《斯基摸轴》e07:各有千秋,四款段落轴体横评——积木轴,青龙轴,洛
图片尺寸3456x2160
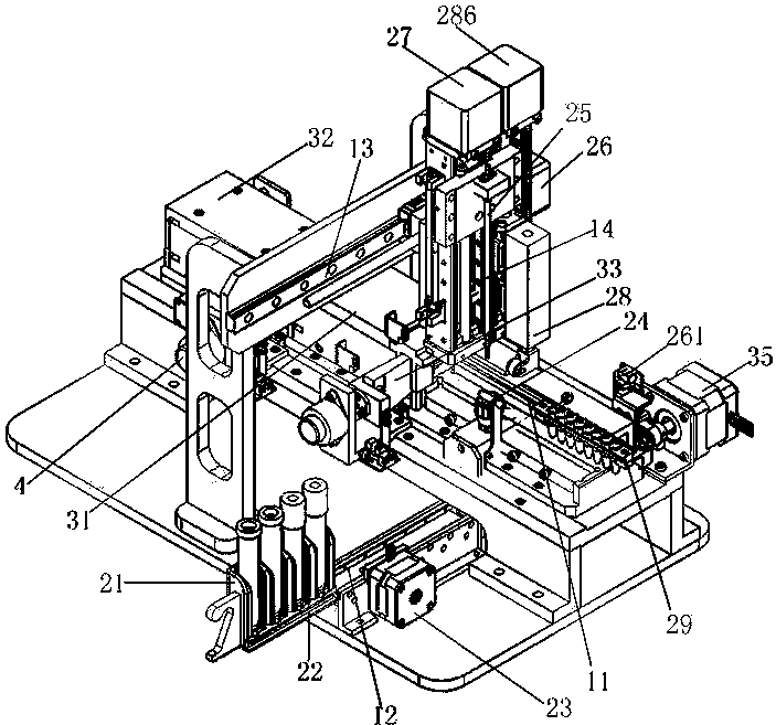
一种基于全自动加样的荧光定量pcr仪
图片尺寸703x657
abiproflex2x96双槽梯度pcr扩增仪现货
图片尺寸698x487
类的主动脉转录组数据,并通过对人主动脉样本进行实时定量pcr加以验证
图片尺寸1014x469
7915art检测,上传结果7915行前两天双测7915行前一天pcr
图片尺寸1080x1439
实时荧光定量pcr介绍ppt
图片尺寸1080x810
rna测序应用研究新发现,德国mb助力分子生物学研究_污染_pcrclean
图片尺寸2804x3738
《斯基摸轴》e249:小石子音,到手即用——小emo轴体验
图片尺寸3840x2160
纪念自己摸轴打上600分,有学上啦.讯使桃子开局,夜刀古米f - 抖音
图片尺寸1920x864