pleural cavity

anatomy
图片尺寸500x294
rn养成记|呼吸系统-综合笔记nclex考点总结
图片尺寸1080x1439
device for detecting air in the pleural cavity
图片尺寸1682x2755
胸膜腔负压 intrapleural pressure: 静息状态: 吸气时: -4 —— -6
图片尺寸1080x810
right pleural cavity
图片尺寸500x406
恶性胸腔积液(malignant pleural effusion, mpe)是指原发于胸膜的
图片尺寸554x375
an exudative pleural effusion is due to inflammation of the
图片尺寸1080x605
pleura),壁层胸膜(parietal pleura),胸膜外脂肪(extrapleural fat)
图片尺寸619x592
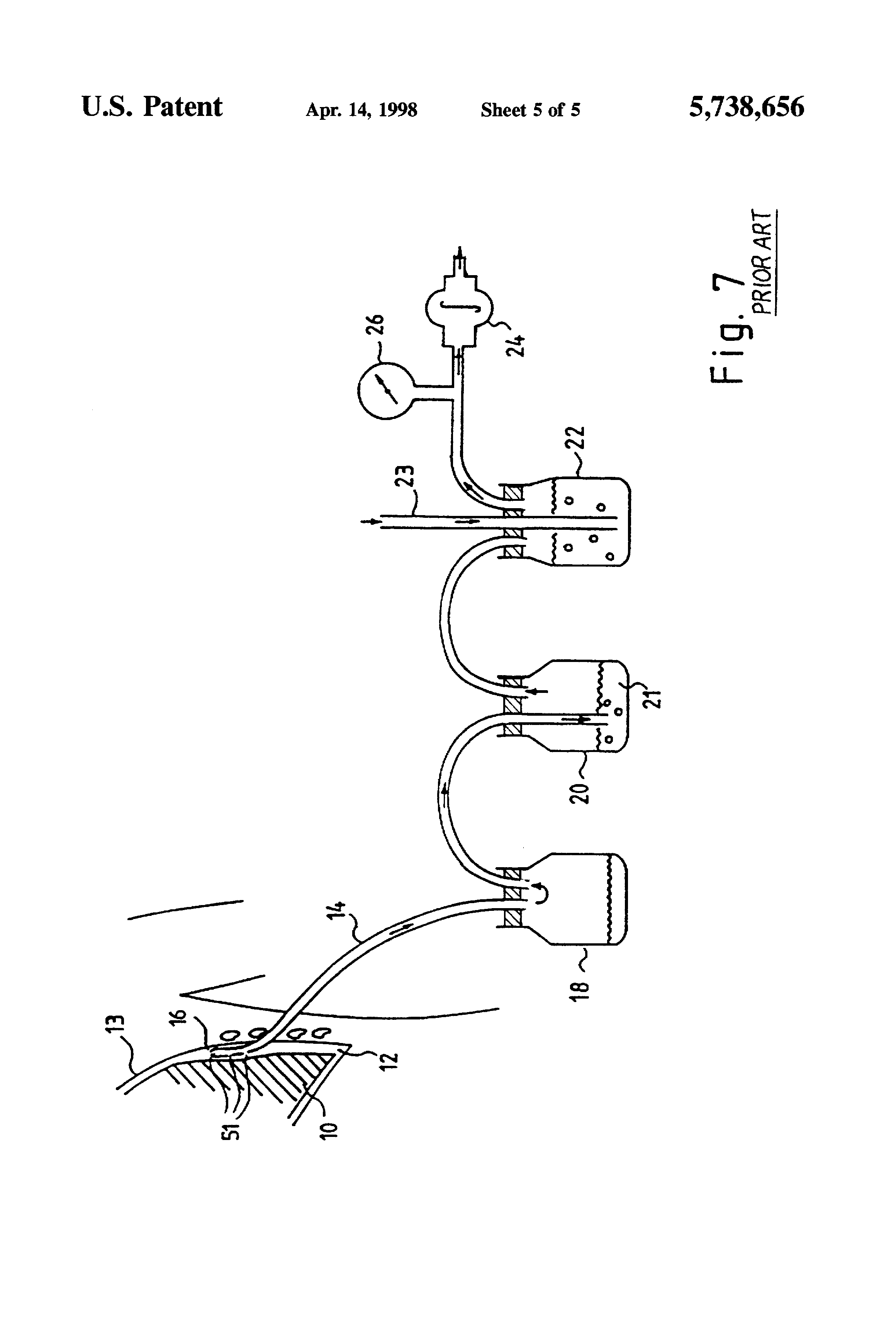
pleural cavity drainage container
图片尺寸2320x3408![而拔除胸腔闭式引流管时为什么却是在深吸气末? [病例帖]](https://imgs.wantubizhi.com/img/735A5D1F980B52A636CC46F12F2D1A736FED4330CA5DE70AEBDCE165DCAE626041A47A7081BF035E8AD659367CD6A46943A6FE492990A4D8F84448F43D21BA919A5B94E7EBEF504E13BC265E69AC68207990ED0F572D9ACECA9C20C6BB764FEC)
而拔除胸腔闭式引流管时为什么却是在深吸气末? [病例帖]
图片尺寸800x458
专题丨胸膜外间隙eps的ct评估
图片尺寸960x720
图片6.png
图片尺寸235x328
免疫治疗相关性肺炎长啥样?9个病例,教你认识它!
图片尺寸1080x777
for removing fluids from a pleural cavity by suction
图片尺寸2320x3408
【医学科普】mesothelioma - causes, symptoms, diagn
图片尺寸1280x720
impulse affected agent:position of mediastina uni-pleural
图片尺寸1080x810
in: pleural diseases, 3rd, light, rw (eds), williams and
图片尺寸640x688
胸膜疾病-cnppt参考幻灯片
图片尺寸800x605
interstitial lung disease neoplasm obesity panic attack pleural
图片尺寸300x295
胸腔积液ppt
图片尺寸390x260