pos机压纸轮安装图解

pos机怎么放打印纸?附装打印纸图解演示
图片尺寸600x679
汇付鸿pos打印纸安装/更换教程
图片尺寸600x1192
pos机纸卷如何安装-pos机纸卷安装步骤
图片尺寸790x670
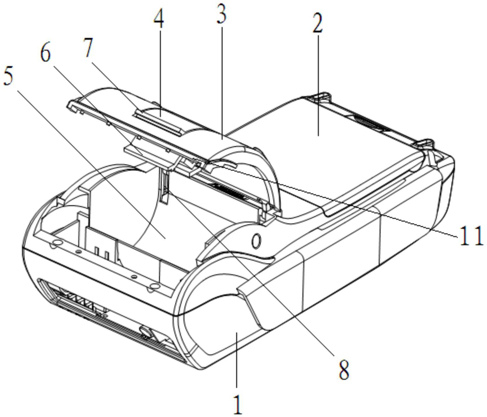
结构设计智能pos机产品结构设计
图片尺寸639x413
pos机打印纸更换2.jpg
图片尺寸800x320
pos机打印纸安装流程.
图片尺寸1080x1920
pos机怎么装纸?
图片尺寸693x386
联迪e530原装收款机配件 pos机e550压纸轴刷卡机压纸轮走纸打印轴
图片尺寸1080x1080
如果这类pos机的打印纸没有安装好,也是会出现pos机打印卡住的情况;2
图片尺寸488x517
安装好纸后,连接上wifi或者有线网络,在设置上开启一下蓝牙功能,但是
图片尺寸800x1242
正规pos机的申请条件和流程.# pos # 抖音小助手do - 抖音
图片尺寸1440x2160
随行付pos机纸卷怎么安装?
图片尺寸4032x3024
pos机的打印盖的设置结构-爱企查
图片尺寸1664x1424
pos机纸安装 pos机纸怎么装滚轴 - 鑫伙伴pos网
图片尺寸367x246
智能pos机设计(五)-- pos机的打印设备
图片尺寸769x578
pos机上流量用完了,怎么买流量卡
图片尺寸2000x1500
详解pos机打印纸怎么装
图片尺寸800x498
《pos机打印纸多大规格》pos机打印纸多大规格合适 第1张
图片尺寸5000x4000
pos机怎样安装纸《pos机怎么安放纸》 - 鑫伙伴pos网
图片尺寸1439x1753
《pos机的纸怎么放》pos机卡纸怎么放的 第1张
图片尺寸1417x1417