powersplitter

400-1000m二功分器power splitter分配器
图片尺寸800x532
power splitter
图片尺寸600x398
power splitter
图片尺寸1000x1000
power splitter
图片尺寸1000x1000
view more image about core power splitter
图片尺寸394x322
usb power splitter
图片尺寸1920x733
us stock 800~2500mhz 3-way power splitter for gsm 3g booster
图片尺寸400x300
4-way sma female power splitter divider 1.5-8ghz for mobile
图片尺寸640x640
power splitter
图片尺寸740x740
usb power splitter
图片尺寸726x385
powersplitter
图片尺寸730x268
rf power splitter 2 way power divider 8-12ghz vswr 1.
图片尺寸1000x1000
进口二手惠普hp 11667a power splitter 18 ghz功分器 高频功分器
图片尺寸500x392
power splitter/combiner circuit
图片尺寸1808x2735
dc-4200mhz resistive power splitter psc-2r-42,new, sma
图片尺寸400x330
138-960mhz 3 way power splitter, vhf , uhf
图片尺寸1000x1032
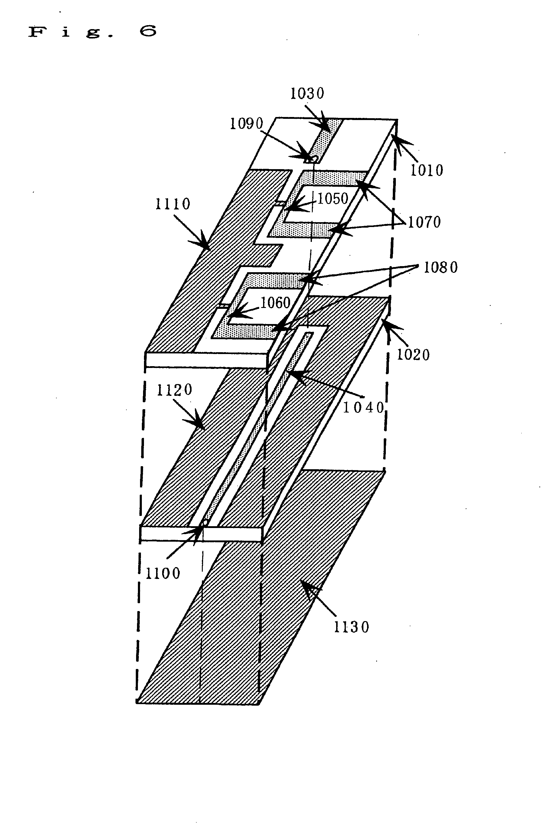
power splitter for plasma device
图片尺寸2712x3330
small size jasen power splitter satellite two power splitter 2
图片尺寸1010x1010
four-way, to ghz power splitter/combiner
图片尺寸600x419
300watt power splitter
图片尺寸300x300