qog aysa4

1080_1439竖版 竖屏
图片尺寸1080x1439
我在itot sarag qog aysa adil mijit截了一段小视频-综艺-高清完整
图片尺寸200x112
smokinggun
图片尺寸1280x853
网易首页>网易号>正文申请入驻>660_440
图片尺寸660x440
3,aysa 迪士尼最近上映的一部公主动画《冰雪奇缘》,主角名为"aysa"
图片尺寸498x694
eaa==aaecabirbqb76aor7ao/gatgiwswsgttvqqmzosd8pydi/gdt4ae7p8e0
图片尺寸580x770
1440_810
图片尺寸1440x810
1080_1439竖版 竖屏
图片尺寸1080x1439
全球价格最高的4大五座suv兰博基尼垫底
图片尺寸747x520
420_315
图片尺寸420x315
1248_827
图片尺寸1248x827
cn/4a4daltopshop,06 229购买地址:http://sep9.cn
图片尺寸1280x1586
1)nlp领域:23年随着gpt4,gpt4 turbogemini的陆续推出,我们可以看出
图片尺寸960x720
购买包装纸板, 价格 , 图片 包装纸板, 从buzsanoat karton qogoz
图片尺寸858x800
最贵的乐器排名 价值4500万美元(至今没售出)
图片尺寸530x322
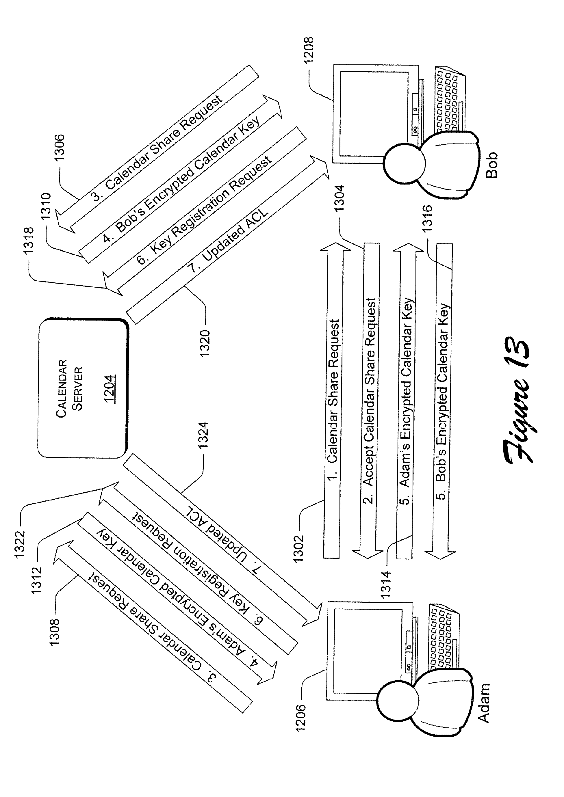
专利ep1596546a2 - sharing data within an instant messaging
图片尺寸1952x2760
4月7日 8:42 关注
图片尺寸1000x1539
1)nlp领域:23年随着gpt4,gpt4 turbogemini的陆续推出,我们可以看出
图片尺寸960x720
别给孩子吃这4类药了!会导致孩子耳聋,收藏以后用来鉴别
图片尺寸1280x750
6月24日 4:12 关注 评论 收藏
图片尺寸1600x2133