ramps原理图

3d打印机控制板ramps14的原理图
图片尺寸1564x1171
ramps1.4 原理图
图片尺寸1100x850
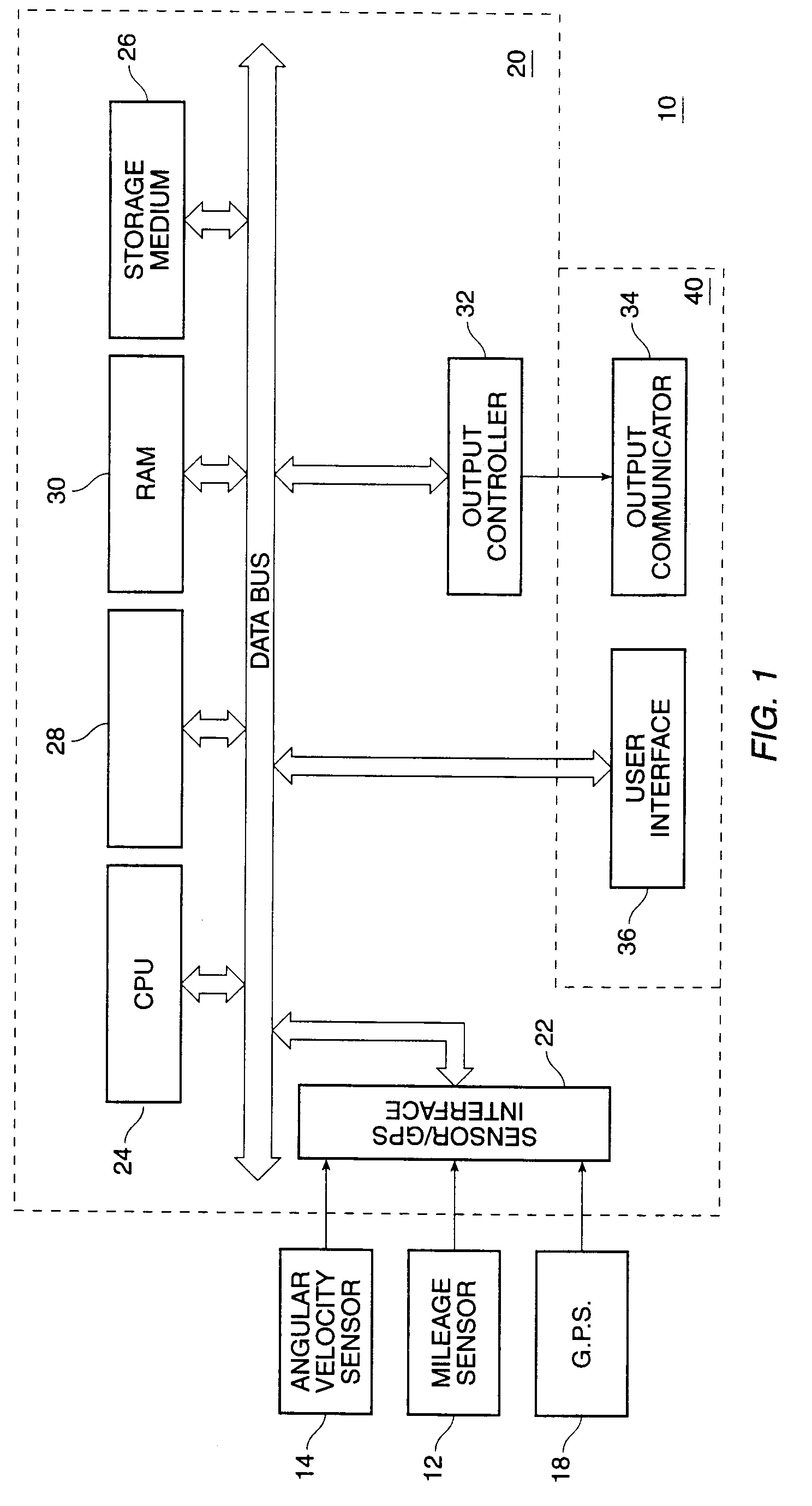
理解内存类原理图 - kumata - 博客园
图片尺寸1094x681
ramps1.4 原理图
图片尺寸1100x850
generating multiple ramps
图片尺寸2711x4139
generating multiple ramps
图片尺寸2817x4180
generating multiple ramps
图片尺寸2775x4086
开源3d打印机ramps1.4控制板详解-3d打印技术-3d打印资源库
图片尺寸866x648
generating multiple ramps
图片尺寸2493x3890
开源3d打印机ramps1.4控制板详解-3d打印技术-3d打印资源库
图片尺寸869x635
0(ramps1.3)扩展板扩展9轴的方法 - 哔哩哔哩
图片尺寸1294x909
0(ramps1.3)扩展板扩展9轴的方法 - 哔哩哔哩
图片尺寸1101x481
generating multiple ramps
图片尺寸2693x4035
ramps1.4 3d打印控制板:软件下载连接安装测试
图片尺寸594x768
generating multiple ramps
图片尺寸2889x3713
ramps1.4 3d打印控制板:软件下载连接安装测试
图片尺寸624x342
3d打印大师详解开源3d打印机控制板stbelectronics详解
图片尺寸1046x799
ramps1.
图片尺寸690x514
4 控制板 mendelprusa ramps1.4(有现货)
图片尺寸1754x1240
method for identifying highway access ramps for route
图片尺寸1488x2758