recoiling

锦木千束×井之上泷奈 lycoris recoil
图片尺寸1728x1080
官方完结绘.#二次元 #泷奈 #锦木千束 #莉可丽丝 # - 抖音
图片尺寸1346x1920
井之上泷奈 #lycorisrecoil #锦木千束 #莉 - 抖音
图片尺寸1918x1160
哇哇哇#lycorisrecoil #井上之泷奈 #锦木千束 - 抖音
图片尺寸828x1146
oimg 莉可丽丝海报lycoris recoil锦木千束井之上泷奈二次元动漫墙贴
图片尺寸750x750
recoiling machine wprc-800
图片尺寸350x350
泷奈不要哭哦#lycorisrecoil #锦木千束 #井之 - 抖音
图片尺寸828x654
「lycoris recoil」93咚咚咚~你们要的莉可莉丝来啦93
图片尺寸1728x1080
slitting, cutting & recoiling-厦门孚铭辊压设备有限公司
图片尺寸1000x750
4klycorisrecoil胡桃不心动挑战你能坚持到60秒吗
图片尺寸3456x2160
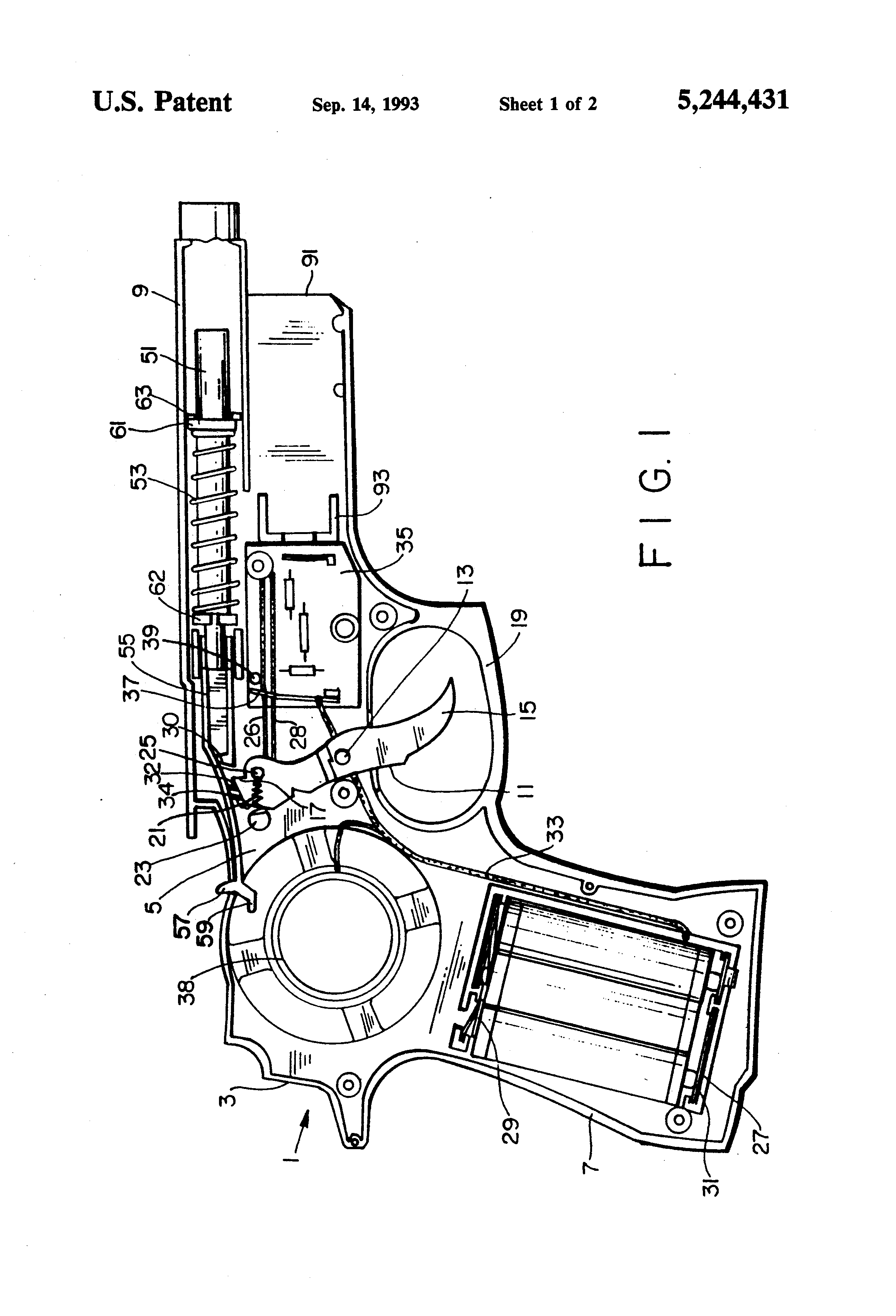
recoiling toy pistol with cocking and firing sound
图片尺寸2320x3408
recoiling supermassive black hole escape velocities from dark
图片尺寸405x280
plume - the recoiling bicycle mudguard
图片尺寸640x480
recoiling machine wprc-700
图片尺寸350x350
bp line, recoiling line, crm line, tension &
图片尺寸1148x1366
【p站美图】sakana↗~~《lycoris recoil》井之上泷奈壁纸特辑 - acg
图片尺寸1024x1365
recoiling striking device
图片尺寸2053x2326
lycorisrecoil #井之上泷奈 #漫画 #锦木千 - 抖音
图片尺寸1080x2152
recoiling machine-4-00
图片尺寸1500x600
the recoiling machine
图片尺寸600x400