restrictor valve

sd电磁调速阀 solencid contolled restrictors valve
图片尺寸945x913
sdf电磁调速阀 solencid contolled restrictors valve
图片尺寸945x798
screwed end full port globe valve , stainless steel globe valve
图片尺寸850x1106
electric petroleum valve
图片尺寸640x640
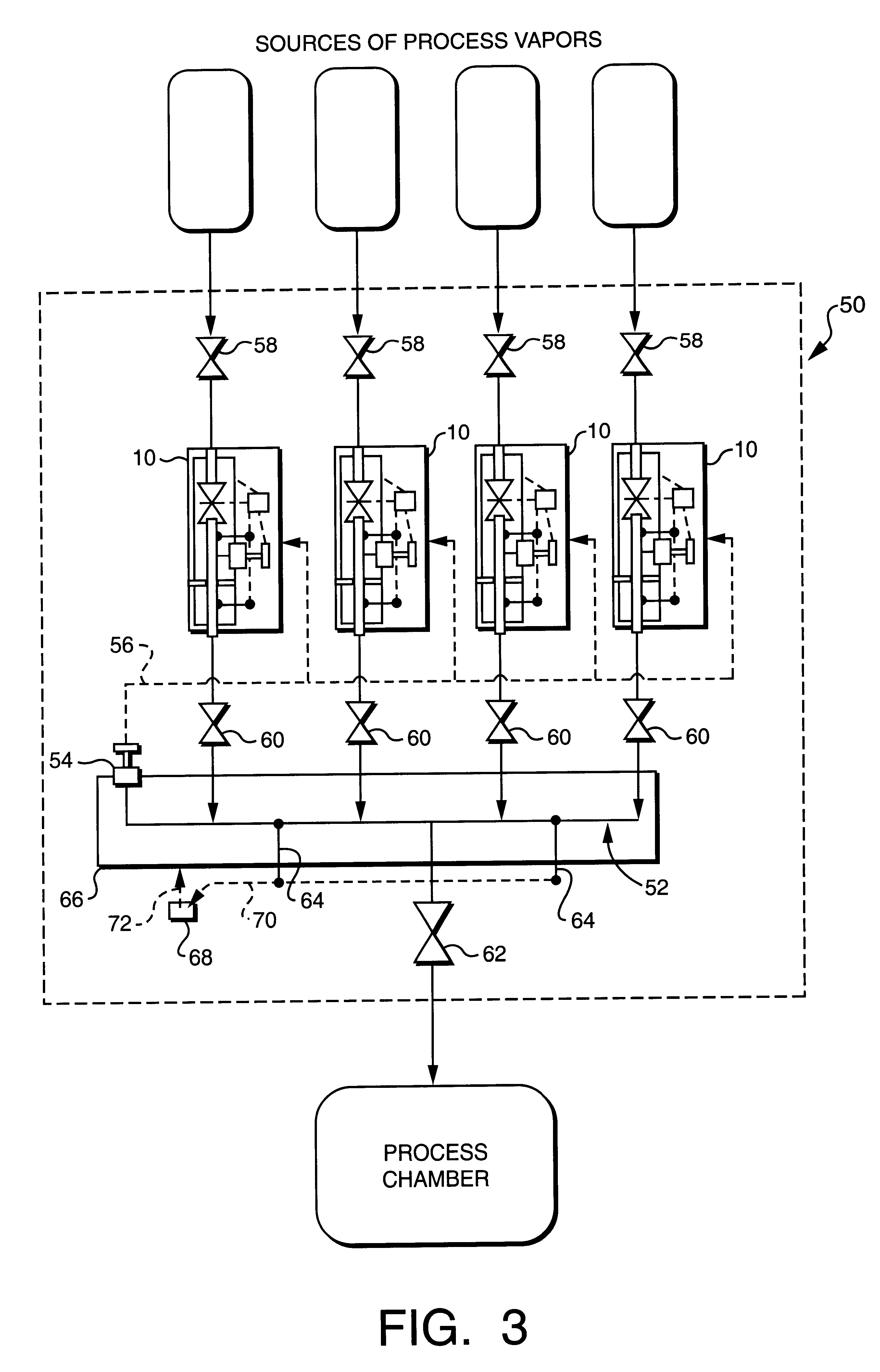
flow path, restrictor and valve; semiconductors
图片尺寸2710x4225
多功能泵浦控制阀
图片尺寸1089x1094
flow path, restrictor and valve; semiconductors
图片尺寸2323x2242
qtm5 - flow restrictor valve - iso 4401-05 (cetop 05)
图片尺寸300x300
orifice restrictors
图片尺寸370x370
mvr-rs/p - direct check valve with flow restrictor - iso 4401-03
图片尺寸300x300
ductile iron awwa gate valve , handwheel operator resilient
图片尺寸3000x1500
主要经营范围:高压球阀(ball valve),液压锁(pilot check valcve)
图片尺寸900x1153
mvr-rs/p - direct check valve with flow restrictor - iso 4401-03
图片尺寸300x300
self-operated differential pressure control valve central air
图片尺寸4251x4251
240 比例安全阀
图片尺寸668x1087
double regulating valve (drv)
图片尺寸1600x1128
用于饮用水 wras acs 认证的弹性闸阀橡胶座 din33552 bs5163
图片尺寸999x1499
主要经营范围:高压球阀(ball valve),液压锁(pilot check valcve)
图片尺寸1063x545
hydraulically operated restrictor/shutoff flow control valve
图片尺寸2320x3408
rp 810 eck pressure reducing valve / pilot-operated / for
图片尺寸907x955