rotor blade

intercombi pb with rotor blade adapter rotor blade
图片尺寸900x600
rotor blade material
图片尺寸640x640
rotor blade for a wind turbine having aerodynamic feature
图片尺寸743x998
rotor blade for a wind power system
图片尺寸2273x2834
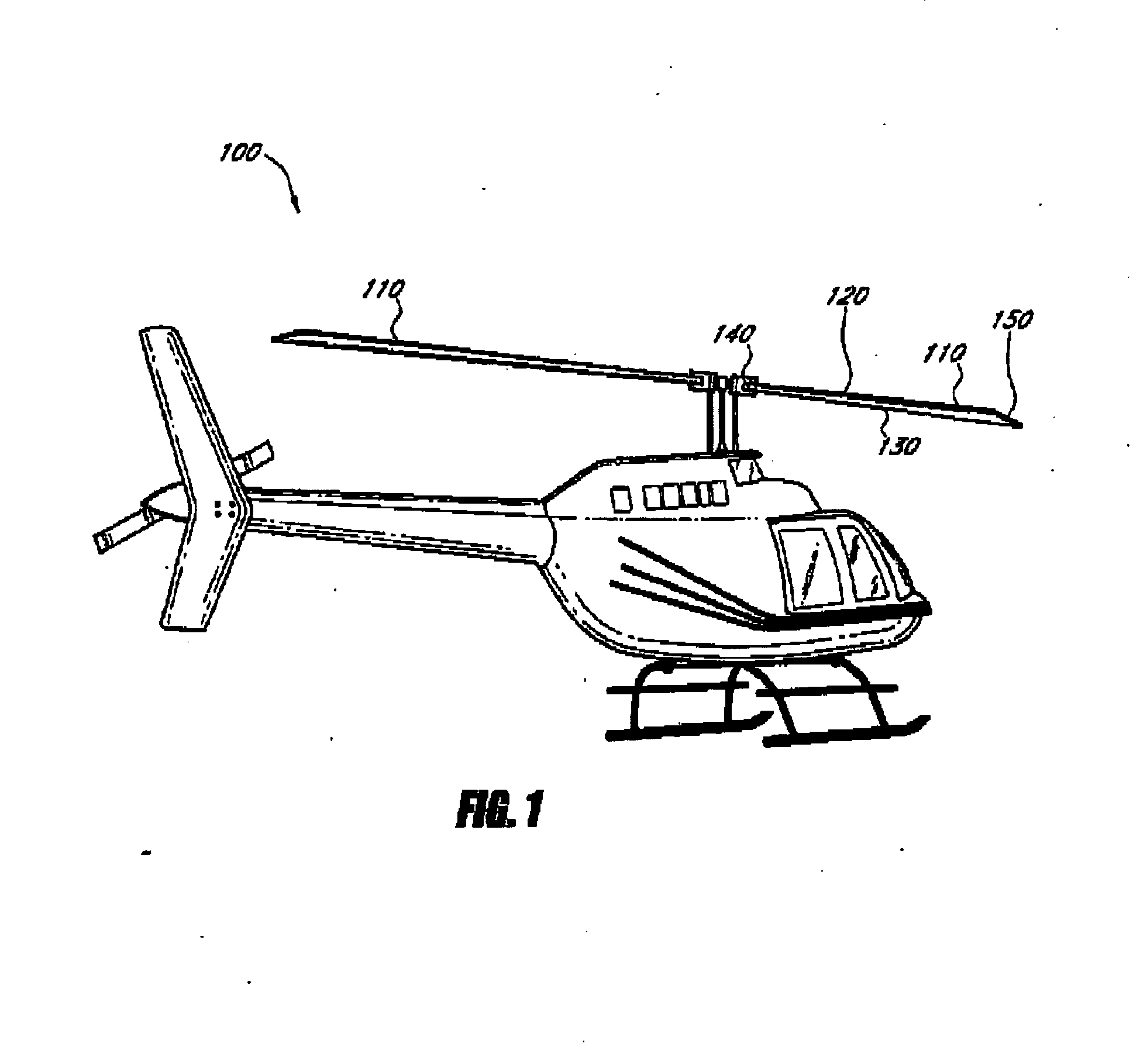
rotor blade
图片尺寸1949x1819
rotor blade, rotor blade element and production process
图片尺寸1623x2506
autogyro rotorblade installation and removal
图片尺寸1294x809
rotor blade heat transfer of high pressure turbine stage under
图片尺寸900x690
rotorblade maintaince
图片尺寸1200x900
rotor blade for a wind power plant
图片尺寸1761x2837
1 pair main rotor blade carbon fiber helicopter 325mm 5030
图片尺寸1000x1000
us2017306923(a1)_rotor blade for wind turbine未知
图片尺寸320x218
rotor blade tip section
图片尺寸1125x2755
cooper power tools rotor blade 869562
图片尺寸400x266
turbine rotor blade
图片尺寸1666x2844
custom logo carbon fiber main rotor blade flybarless rc
图片尺寸853x486
rotor blade for a wind power system
图片尺寸2279x1886
cooper power tools rotor blade 204643
图片尺寸400x266
rotor blade operating device in airplane and flaperon operating
图片尺寸1847x2897
rotor blade assembly having an auxiliary blade
图片尺寸1775x2594