roundness

词条图片
图片尺寸132x160
roundness
图片尺寸546x549
roundness morphology of quartz particles
图片尺寸700x583
圆形用英语怎么说
图片尺寸499x367
形位公差gdt 中英文
图片尺寸655x920
上海福睿然体育发展有限公司
图片尺寸800x800
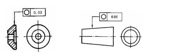
机械制图与形位公差ppt 定义与标注 圆度(circularity/roundness )
图片尺寸1080x810
7 pcs 3/5/6/7 inch roundness polishing waxing buffing pad sp
图片尺寸800x800
cuteroundness
图片尺寸479x799
roundness
图片尺寸583x185
slotted wedge wire screen welding machine with perfect roundness
图片尺寸562x498
(angle jitter), and make them more irregularly shaped (roundness
图片尺寸650x285
测量仪器地质学名词:圆度(roundness)又称磨圆度(psephicity),是指
图片尺寸600x419
shapes points roundness 有形--几何图形在平面设计中的运用 版式
图片尺寸500x500
roundness measuring instrument
图片尺寸616x303
奔跑的烘焙师傅daniel
图片尺寸360x480
奔跑的烘焙师傅daniel
图片尺寸360x477
beautiful unique black add blue dragon veins agate roundness
图片尺寸500x328
奔跑的烘焙师傅daniel
图片尺寸360x477
shapes points roundness 有形--几何图形在平面设计中的运用 平面
图片尺寸305x400