rupturedisc

rupture disc 表
图片尺寸742x645
rupturedisc
图片尺寸300x300
rupture disc
图片尺寸480x442
rupture disc_ksrrk(reverse dome shear type)
图片尺寸3480x2332
inverted rupture disc
图片尺寸500x500
rupture disc
图片尺寸2320x3408
壁纸无聊发一些lol剪影壁纸
图片尺寸1920x1080
大陆 爆破 片 continental rupture disc商标注册申请
图片尺寸920x272
rupturedisc
图片尺寸300x300
rupturedisc
图片尺寸300x300
graphite rupture discs provide long temperature resistance
图片尺寸600x519
rupture disc system
图片尺寸2320x3408
rupturedisc
图片尺寸300x300
ga type - graphite bursting rupture disc for aggressive medium
图片尺寸300x300
rupture disc / bursting disc zw
图片尺寸800x533
getting the most out of your rupture disc
图片尺寸300x216
rupture disc / bursting disc ikb with holder
图片尺寸652x600
home > 产品介绍 > rupture disc > graphite disc
图片尺寸290x220
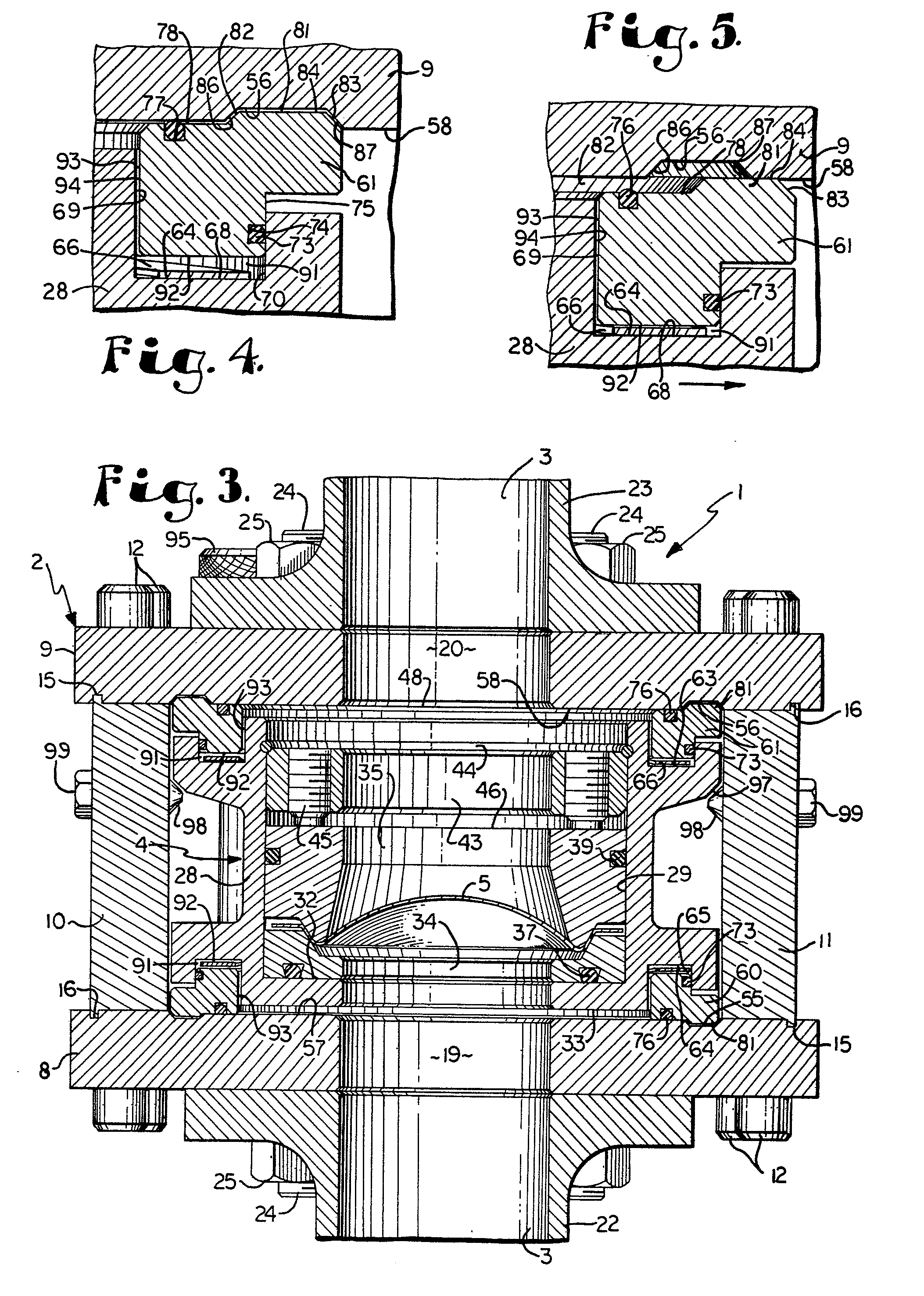
replaceable rupture disc cartridge arrangement
图片尺寸2106x2952
predicting rupture of abdominal aortic aneurysms
图片尺寸2312x2126