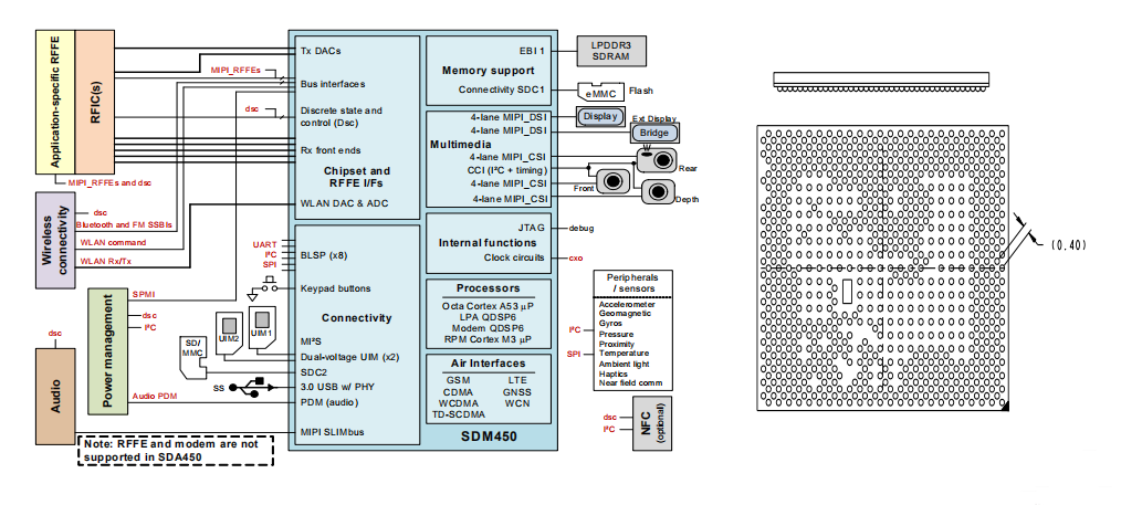
sdm450

高通sdm450 4g无人售货快递柜工控机工业平板android主板开发板
图片尺寸1000x1000
高通方案定制 骁龙450 sdm450八核 4g核心板 android 9.
图片尺寸858x849
高通sdm450安卓智能核心板
图片尺寸1890x1890
sdm-450-f-792nsp-mt-01-0-aa-云汉xc国际代理全线售出原装ic393
图片尺寸1199x1599
600_450
图片尺寸600x450
sdm450b是什么处理器「处理器sdm450是什么意思」
图片尺寸1200x900
高通sdm450 八核cpu 低功耗 安卓主板 方案开发
图片尺寸1440x1919
高通sdm450核心板_4g安卓核心板_安卓手机主板开发板定制
图片尺寸800x800
阿毛易修 sam:13 sdm450 sm6150 mt6762v bga221/254 植锡网
图片尺寸746x740
高通sdm450核心板4g安卓智能模块_高通开发板方案定制
图片尺寸621x858
高通sdm450核心板4g安卓智能模块_高通开发板方案定制
图片尺寸620x832
议价高通msm8953pro/sdm450安卓开发套件-高通安卓开发板-高通核
图片尺寸1242x931
网络及安全设备
图片尺寸1134x1134
高通sdm450核心板_4g安卓核心板_安卓手机主板开发板定制
图片尺寸778x776
高通sdm450核心板_4g安卓核心板_安卓手机主板开发板定制
图片尺寸1303x769
高通sdm450核心板4g安卓智能模块_高通开发板方案定制
图片尺寸1323x738
阿毛易修 msm8953 b01 sdm450/632/1ab下层【cpu】植锡网
图片尺寸733x743
高通sdm450核心板_4g安卓核心板_安卓手机主板开发板定制
图片尺寸1033x457
sdm450平台调试i2c高低电平的占空比
图片尺寸566x430
红米7/5a/s2/pro/6pro植锡网msm8953/8917高通625cpu/sdm632/450
图片尺寸800x800