sealingring

密封圈sealingring品牌newdealsealoem
图片尺寸1000x1000
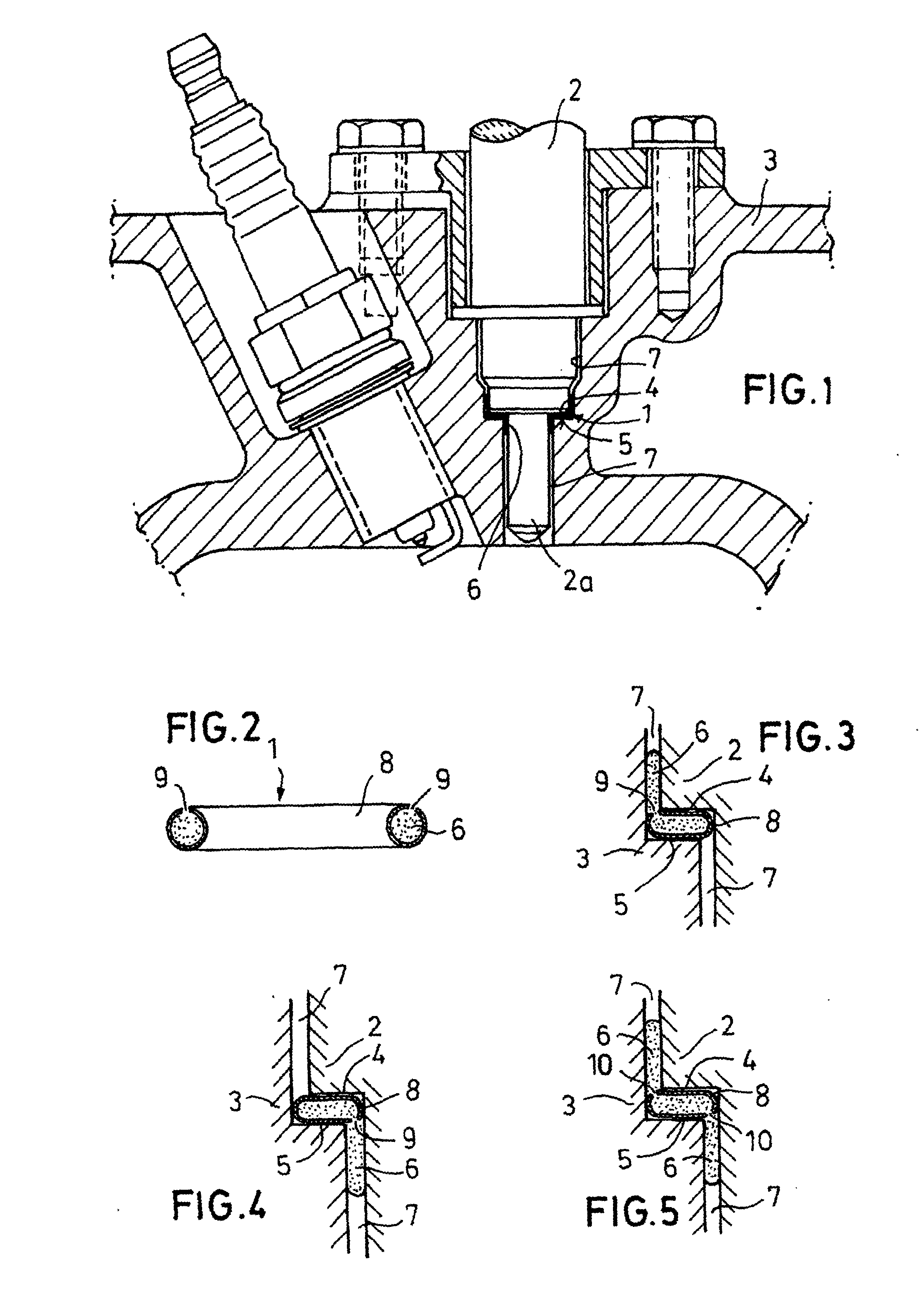
sealing ring for injector
图片尺寸2240x3172
sealing ring
图片尺寸1686x2244
sealing ring
图片尺寸600x450
sealing ring for a vehicle wheel
图片尺寸1795x1500
sealing ring
图片尺寸800x600
10pcs rubber ring silicone flat gasket sealing ring for
图片尺寸800x800
sealing ring other 40 mm 6 mm 53340860
图片尺寸600x599
r series sealing ring
图片尺寸557x504
insulator black sic silicon carbide ceramic sealing ring
图片尺寸800x800
cng filling stations seals peek sealing ring
图片尺寸600x450
all kinds of precision sealing ring - all kinds of precision
图片尺寸845x687
conveyor roller sealing ring with good quality
图片尺寸597x601
240pcs fit combined sealing ringhigh press hydraulic rubber
图片尺寸640x640
sealing ring
图片尺寸500x487
shaft sealing ring/rod sealing rings
图片尺寸704x390
pressure cooker gaskets rubber sealing ring food lunch box s
图片尺寸800x800
new design fashion sealing ring metal stainless o ring china
图片尺寸1000x1000
oil sealing ring,a 230 272 00 55
图片尺寸898x692
new design fashion sealing ring metal stainless o ring china
图片尺寸1000x1000