shiftswap

shift(史诗错乱)chara审判曲 megaloglamour bv1vs411n7nn epicswap
图片尺寸1080x1080
underswap
图片尺寸400x480
传说之下2设精美人物图包swapshiftfrisk篇
图片尺寸1024x683
swapswap一个神奇的au
图片尺寸752x469
绘画revertswapswapswapsans风格更换
图片尺寸1728x1080
shiftswap六魂羊一阶段无伤通关
图片尺寸1920x1080
swap(swap分区)
图片尺寸650x495
【undertale】swapswap sans au themes
图片尺寸1920x1080
swapsans第一次通关
图片尺寸1728x1080![[swap frisk y chara y shift metaton]stronger than you强大于你](https://imgs.wantubizhi.com/img/735A5D1F980B52A636CC46F12F2D1A7344A659B79C623EDA6F2B5806C311F6264722DDA46E950957886504F0A0EE4E99E449F0DE47F02F8F2507585A258289FAC8F9A0BFA0D4D7598B63071BB0698ED54D9DD681D5B6A6262F18E9F35A5FCA57)
[swap frisk y chara y shift metaton]stronger than you强大于你
图片尺寸1920x1080
绘画swapswapsans
图片尺寸1728x1080
绘画swapsans(有什么发生了改变)
图片尺寸1916x1080
dustswapshift - the extermination_哔哩哔哩 (゜-゜)つロ 干杯
图片尺寸1152x720
swap!sans - being
图片尺寸1024x1024
oct crossswap
图片尺寸360x640
swap!shiftfell - daredevil
图片尺寸1066x666
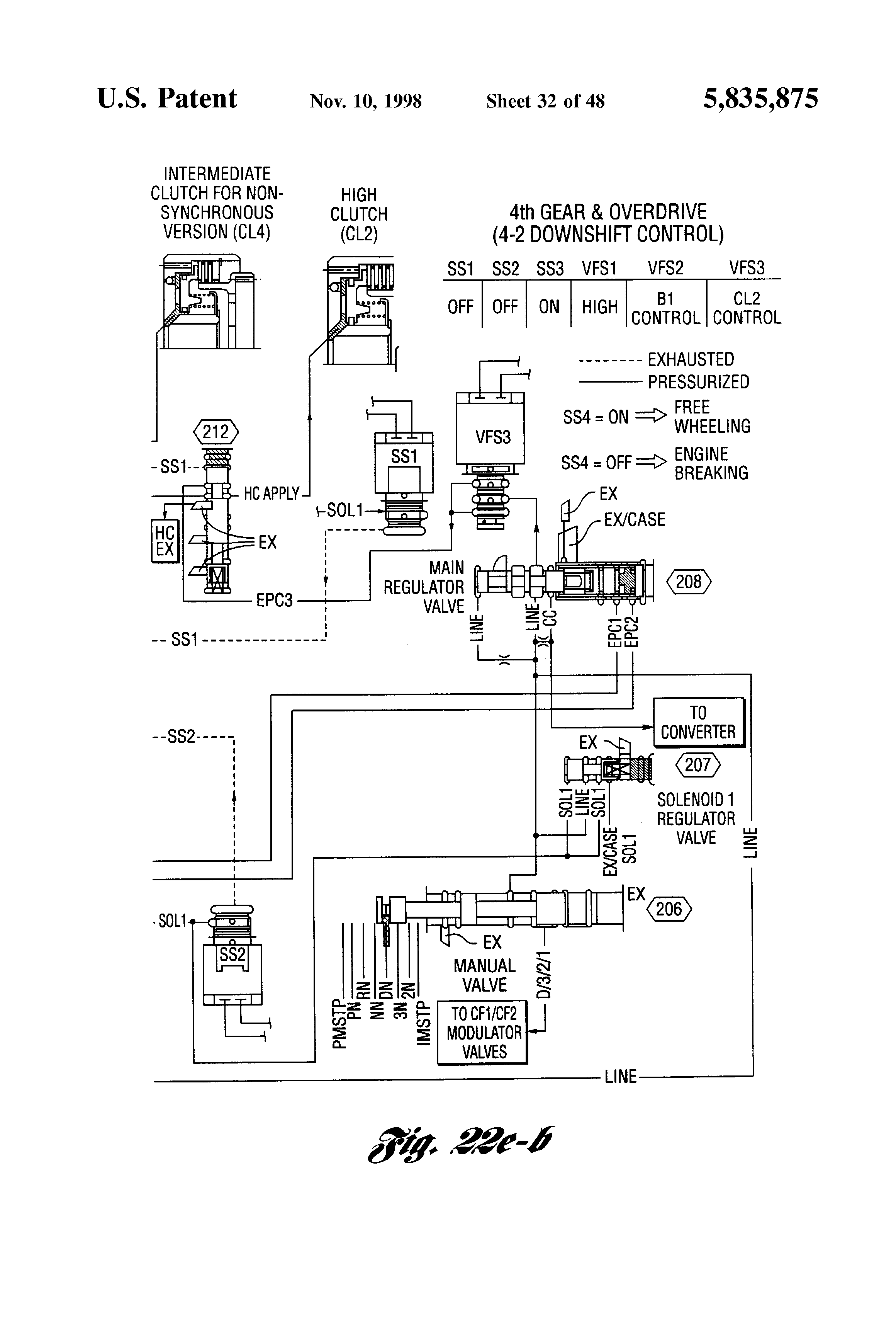
transmission downshift swap-shift control
图片尺寸1882x1380
swap-shift control system for a multiple ratio transmission
图片尺寸2320x3408
祝各位中秋快乐,就酱qwq@锐某被作业吃了@swap shift frisk@被绿的
图片尺寸640x853
swap-shift control system for a multiple ratio transmission
图片尺寸2320x3408