shunt resistance

shunt resistance
图片尺寸1359x557
fl-2e series shunt (high precision resistance customizable)
图片尺寸2048x1536
effect of the shunt resistance rsh on the shape of an i v curve
图片尺寸600x387
dc ac smart sensor module with shunt resistor
图片尺寸750x578
shunt resistor with low resistance, used in charge and discharge
图片尺寸360x360
shunt resistance device for monitoring battery state of charge
图片尺寸2502x3051
shunt resistance device for monitoring battery state of charge
图片尺寸2335x1240
shunt resistance and method of adjusting the shunt resistance
图片尺寸1921x2451
low temperature coefficient 0 ohm sensing shunt resistors,nickel
图片尺寸750x748
of a neoaorta, atrial septectomy, and blalock-taussig shunt), a
图片尺寸976x761
shunt resistance determination in a silicon solar cell: effect
图片尺寸401x202
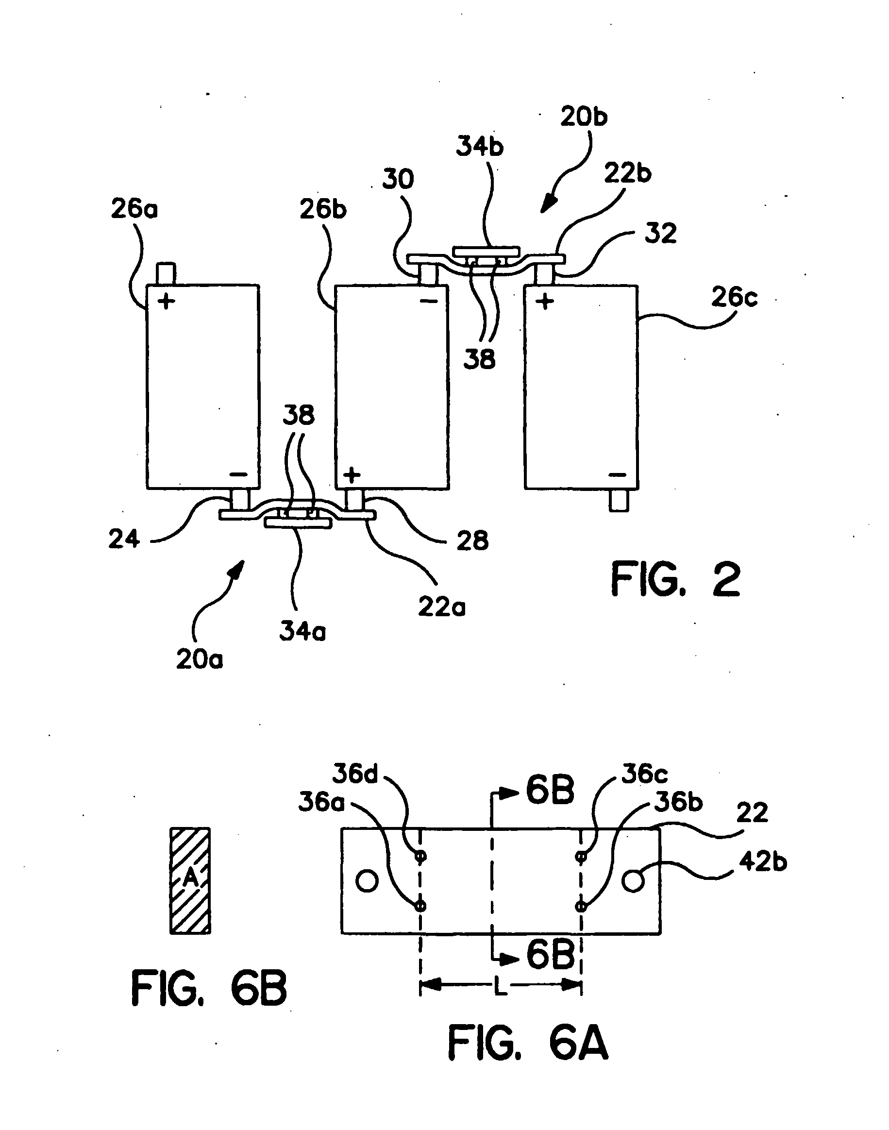
shunt resistance device for monitoring battery state of charge
图片尺寸1831x2327
rated current ≤7,5 a 1 2 rated current >7,5 a 1 3 shunt
图片尺寸1191x1655
shunt resistance and method of adjusting the shunt resistance
图片尺寸1879x2527
with the applied current, it decreases the input resistance
图片尺寸1188x918
能够发现静脉曲张的反流根源(ep),明确血流通路(shunt)以及回留点(rp)
图片尺寸911x918
分流电阻: resistance = r1 r2/2 ( 图)在总的电流(i)不变的情况下
图片尺寸1240x898
ic current shunt monitor 10uqfn | ina199a1rswt | 296-27330-6-nd
图片尺寸640x640
shunt resistance device for monitoring battery state of charge
图片尺寸496x295
chiva专辑下肢静脉曲张shunt3该如何选择治疗策略
图片尺寸1080x1634