shuntregulator

shunt regulator: 33.0 v, 32.8Ω, 3w
图片尺寸1500x1500
shunt regulator
图片尺寸827x1169
专利ep0398943b1 - shunt regulator - google 专利
图片尺寸1783x755
6v dual adjustable precision shunt regulator )
图片尺寸1275x1650
拆机 瑞士maxon motor control shunt regulator 235811驱动器
图片尺寸800x1066
unisieb dual shunt regulator
图片尺寸1600x1081
gm432 datasheet(4/5 pages) etc2 | adjustable shunt regulator
图片尺寸892x1263
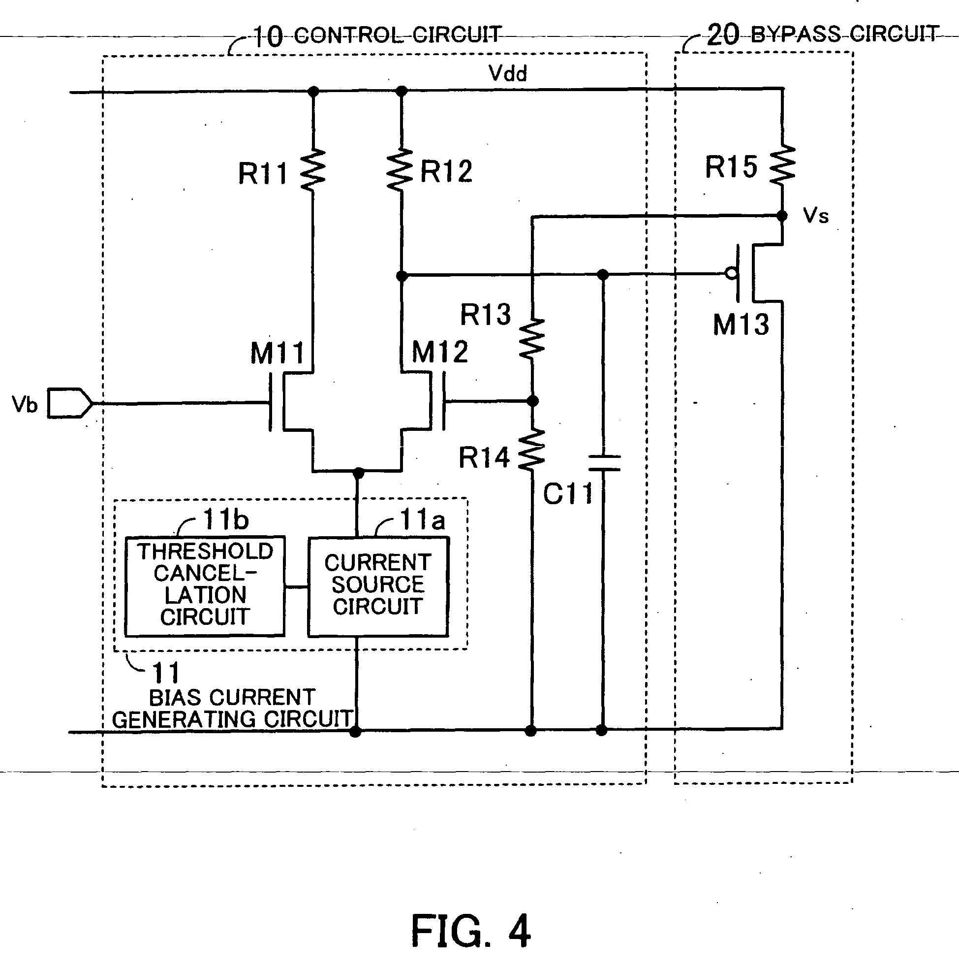
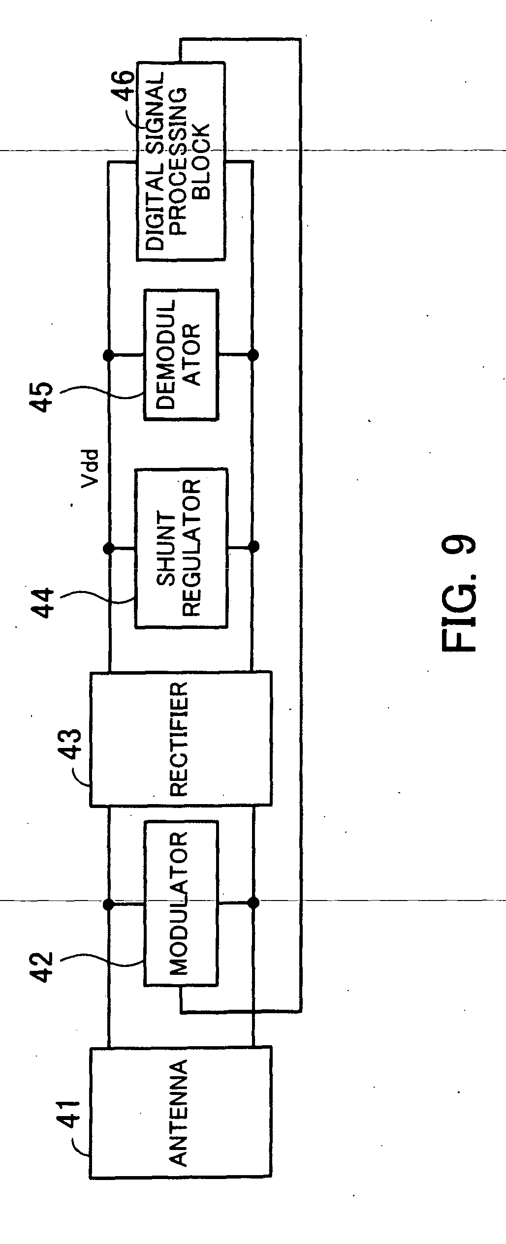
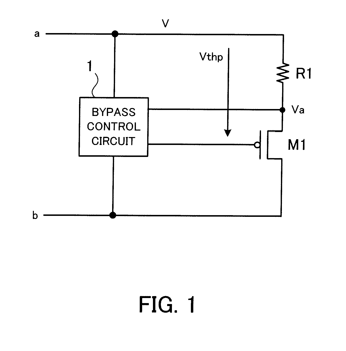
shunt regulator and electronic device
图片尺寸1949x1972
shunt regulator and electronic device
图片尺寸1441x1465
dual shunt regulator
图片尺寸1600x1600
g432 datasheet(1/5 pages) gtm | adjustable shunt regulator
图片尺寸892x1263
下的整车试验整个系统结构简单,体积小重量轻,便于携带shunt内置芯片
图片尺寸600x360
h431bm datasheet(3/4 pages) hsmc | ajdustable shunt regulator
图片尺寸892x1263
有关以下物品的详细资料: stereo fet input shunt regulator line
图片尺寸1023x767
shunt regulator and electronic device
图片尺寸1028x2528
spx431cm5-l/tr『adjustable shunt regulator』 现货
图片尺寸640x640
tl431cdbvr tl431 adjustable precision shunt regulator
图片尺寸640x480
shunt regulator at excitation output of generator control unit
图片尺寸2182x1772
shunt regulator price
图片尺寸310x310
24v cost effective shunt regulator
图片尺寸892x1263