sorting mechanism

蓝光有惊喜
图片尺寸690x388
对称加密算法:长期有效的加密(上)
图片尺寸1609x955
coin sorting mechanism using controlled angular deflection
图片尺寸2180x2603
streamsortingmeansofflexibleactivefencemechanismandmachinetheory
图片尺寸920x1302
爱爱医资源-哈尔滨医科大学-组织学与胚胎学课件-皮肤ppt
图片尺寸1080x810
学会正确运用cardsorting卡片分类法快速锁定用户需求定义问题不用愁
图片尺寸700x440
gmp certified natural herbs madura tongkatajimat ma
图片尺寸796x800
thesortinghat
图片尺寸1080x1197
chemotherapy-induced hyperpigmentation of the tongue
图片尺寸1422x746
coin sorting mechanism
图片尺寸2048x3038
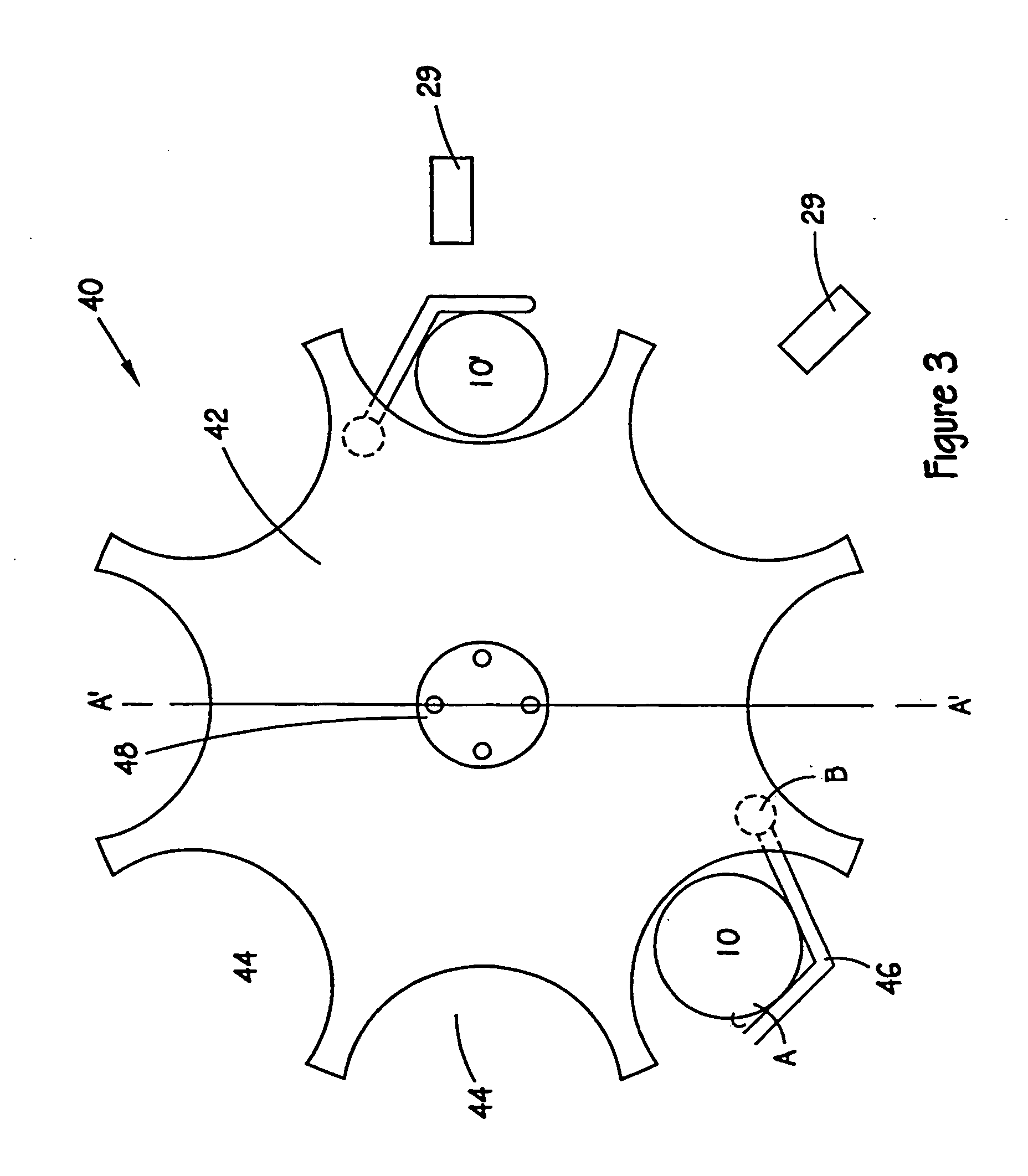
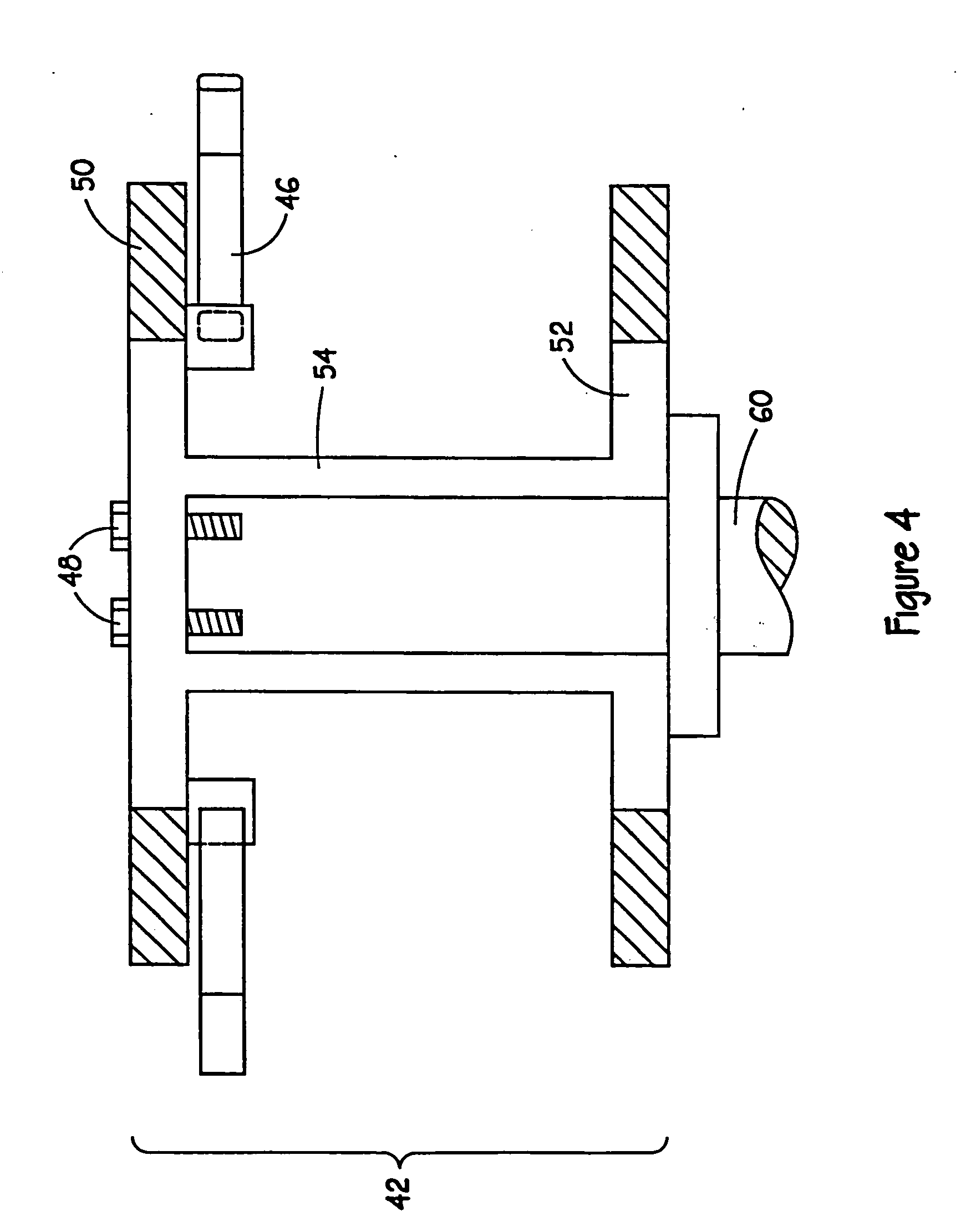
turret sorting mechanism
图片尺寸1760x2223
coin sorting mechanism using controlled angular deflection
图片尺寸2240x1840
turret sorting mechanism
图片尺寸1872x2728
the ranking dead: could google penguin 2.
图片尺寸700x377
上皮组织 - 医学全在线-国家医学考试网国家医学教育网站答案ppt
图片尺寸1080x810
biological differences between the sexes: overview
图片尺寸481x447
jake gyllenhaal uczy wymowy swojego nazwiska
图片尺寸1233x819
automatic sorting mechanism
图片尺寸554x250
&檗
图片尺寸1000x563
turret sorting mechanism
图片尺寸1856x2124