sulphuricacid

sulphuric acid-98% min.
图片尺寸640x446
sulphuricacidforbatteries
图片尺寸300x300
sulphuric acid industry grade-sulphuric acid industry grade
图片尺寸300x300
sulphuric acid
图片尺寸570x200
factory price sulfuric acid, sulphuric acid h2so4 all grades
图片尺寸500x418
sulphuric acid equipment
图片尺寸600x450
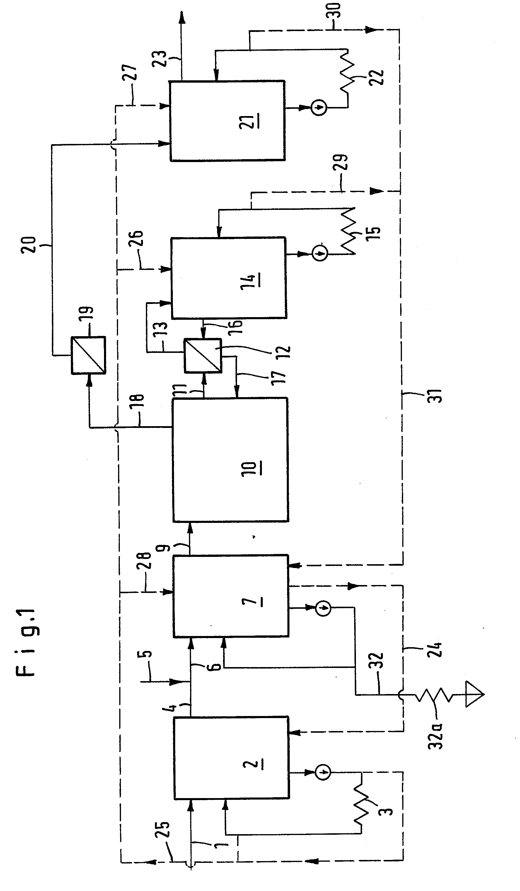
process for the separation of sulphuric acid from the
图片尺寸994x791
sulphuric acid immobilized on silica gel (h
图片尺寸850x1035
method of determining traces of nitric in sulphuric acid
图片尺寸2320x3408
sulphuric acid immobilized on silica gel (h
图片尺寸840x546
thiosulphuric acid
图片尺寸816x544
阿梅丽 诺冬 硫酸 sulphuric acid 英文原版 amelie nothomb 文学
图片尺寸800x800
sulphuric acid d&b certified supplier
图片尺寸345x350
sulphuric acid immobilized on silica gel (h
图片尺寸928x312
process for preparing sulphuric acid
图片尺寸1775x3040
sulphuric acid 98% / h2so4
图片尺寸400x300
ofroastedzincsulphide concentratewithsulphuricacidsolutions
图片尺寸786x193
硫酸纸 描图 制版转印纸 钢笔书法练习临摹纸 a4/a3 50张包邮
图片尺寸800x800
专利ep0741128a2 - sulphuric acid esters of sugar alcohols for
图片尺寸1856x756
sulphuric acid 98% / h2so4
图片尺寸640x480