switch手绘

【ipad pro 绘画】 任天堂switch 产品设计手绘
图片尺寸2304x1444
switch
图片尺寸1977x2111
机械设计##游戏机##绘画##潮流插画##插画##任天堂##任天堂switch
图片尺寸690x690
switch
图片尺寸1938x2991
孤独摇滚 #波奇酱#手绘#switch游戏 #画渣 2.5 - 抖音
图片尺寸1440x1719
switch
图片尺寸1068x2951
simple doodle of a switch
图片尺寸450x450
简笔画·插画-switch.#治愈系 #手绘 #插画#简笔画 - 抖音
图片尺寸1440x1920
switch design
图片尺寸1641x2622
switch
图片尺寸1280x1408
switch
图片尺寸3574x1489
switch with shaped face
图片尺寸2028x2233
【手绘】可爱switch拟人手绘!
图片尺寸1920x1080
automatic switch
图片尺寸1582x2339
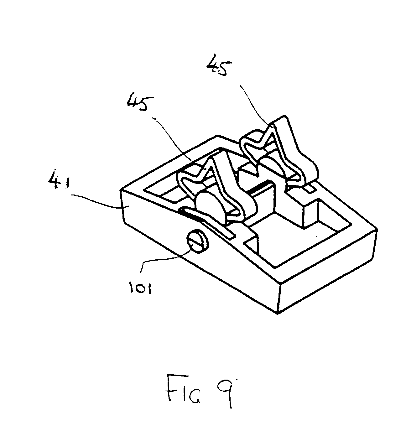
electrical switch assembly
图片尺寸1913x2598
nintendo switch改编插画
图片尺寸520x390
switch
图片尺寸1435x2402
switch
图片尺寸1959x1916
dimmer switch
图片尺寸1278x1762
switch for a hearing aid
图片尺寸1930x1952