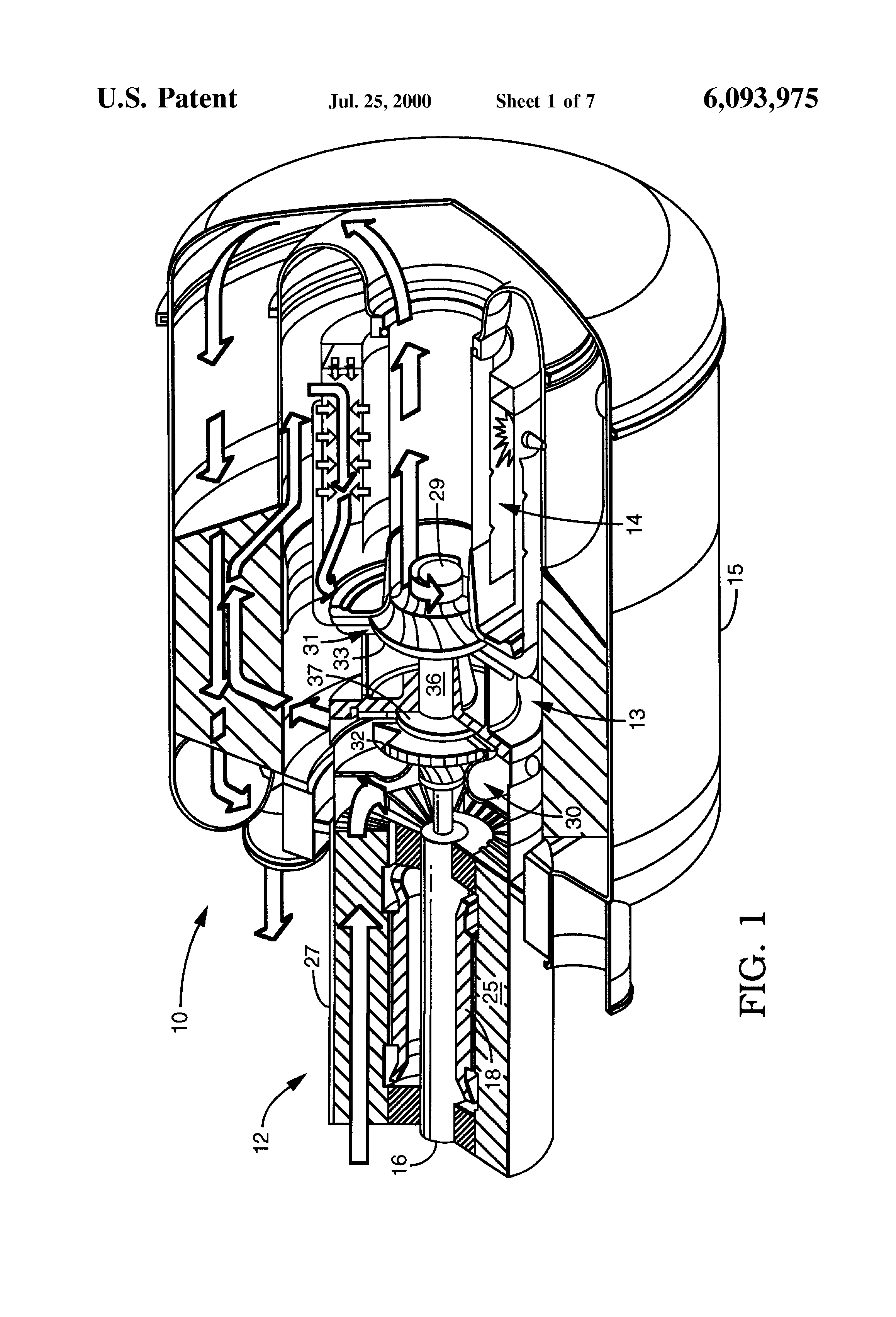
synchronous condenser

1 synchronous condenser, which measures 14.
图片尺寸900x606
us10411627b2_ac excitation synchronous condenser and control
图片尺寸1979x1693
high effciency refrigerator condenser for middle east and spain
图片尺寸1000x810
synchronous condenser
图片尺寸460x278
cx7 series laboratory condenser / borosilicate 250 – 400 mm
图片尺寸500x707
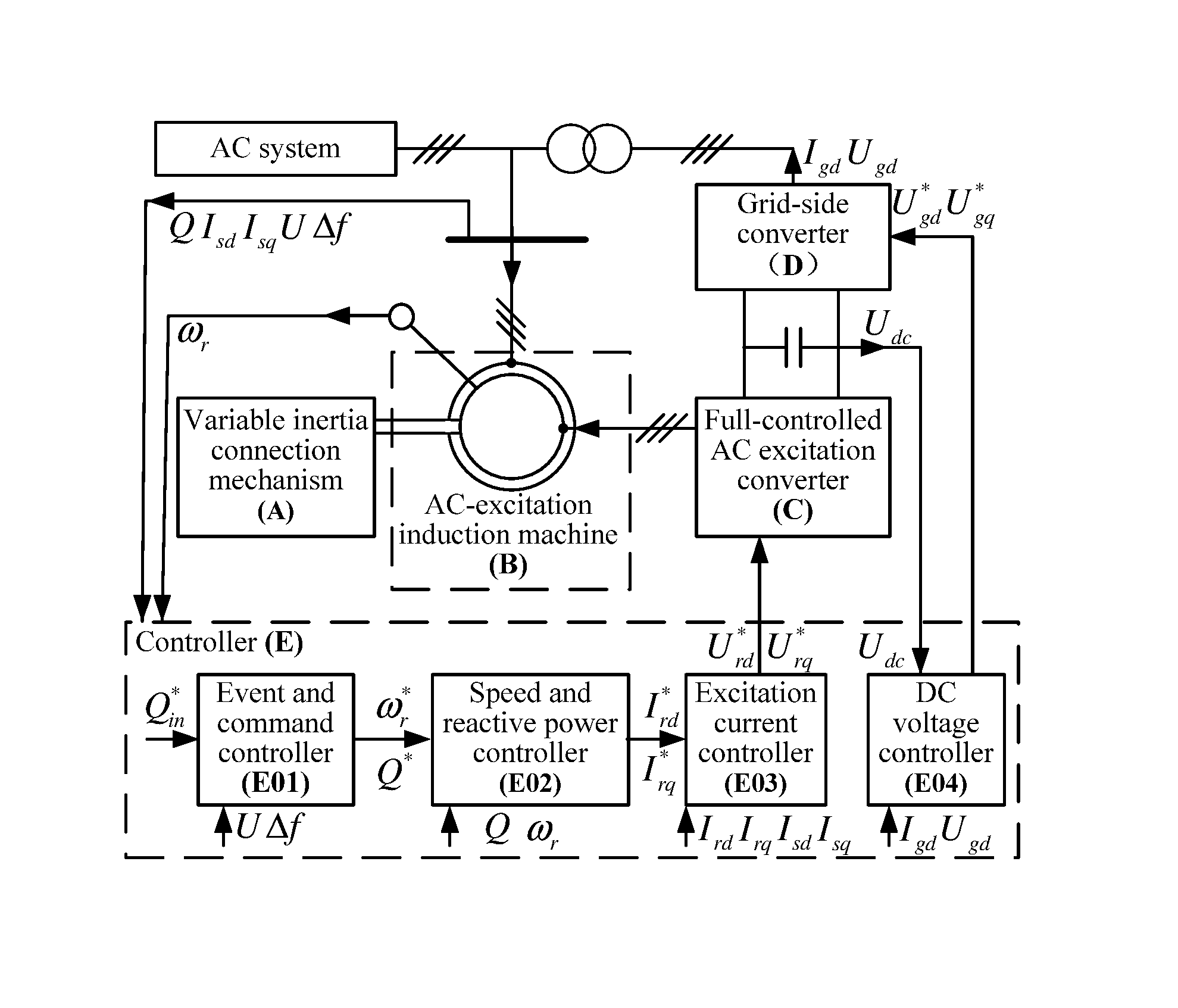
turbogenerator/motor control with synchronous condenser
图片尺寸2320x3408
直销电容麦克风复古麦克风手机电脑麦克风condenser microphone
图片尺寸1080x1440
100v~240v 50/60hz 1/18~1/30hp electric condenser motor fan
图片尺寸350x446
neumann tlm 107 nickel switchable studio condenser microphone
图片尺寸465x620
synchronous permanent magnet refrigerator condenser fan motor 49
图片尺寸600x338
neumann u87 ai mt set z multi-pattern condenser microphone set
图片尺寸1000x1000
等了一个半月的condenser 终于到了949494
图片尺寸1080x1439
capstonestudiosocialcondenser结构
图片尺寸1080x1439
v type space-saving refrigeration condenser low noise air cooled
图片尺寸300x300
success water cooled condenser for sale different types of heat
图片尺寸800x800
1 synchronous condenser, which measures 14.
图片尺寸900x600
2900kw condenser
图片尺寸1277x815
synchronous permanent magnet refrigerator condenser fan motor 49
图片尺寸300x300
condenser usb desktop mic gaming youtube recording studio
图片尺寸1080x1920
neumann u47 fet large diaphragm condenser mic - long & mc
图片尺寸474x746