tegument

泰歌梦;tegument - 商标 - 爱企查
图片尺寸516x206
em>贴护宁 /em> em>tegument /em>
图片尺寸984x448
em>贴护宁 /em> em>tegument /em>
图片尺寸280x280
tegument
图片尺寸600x430
预订 the vertebrate integumentvolume 1
图片尺寸267x400
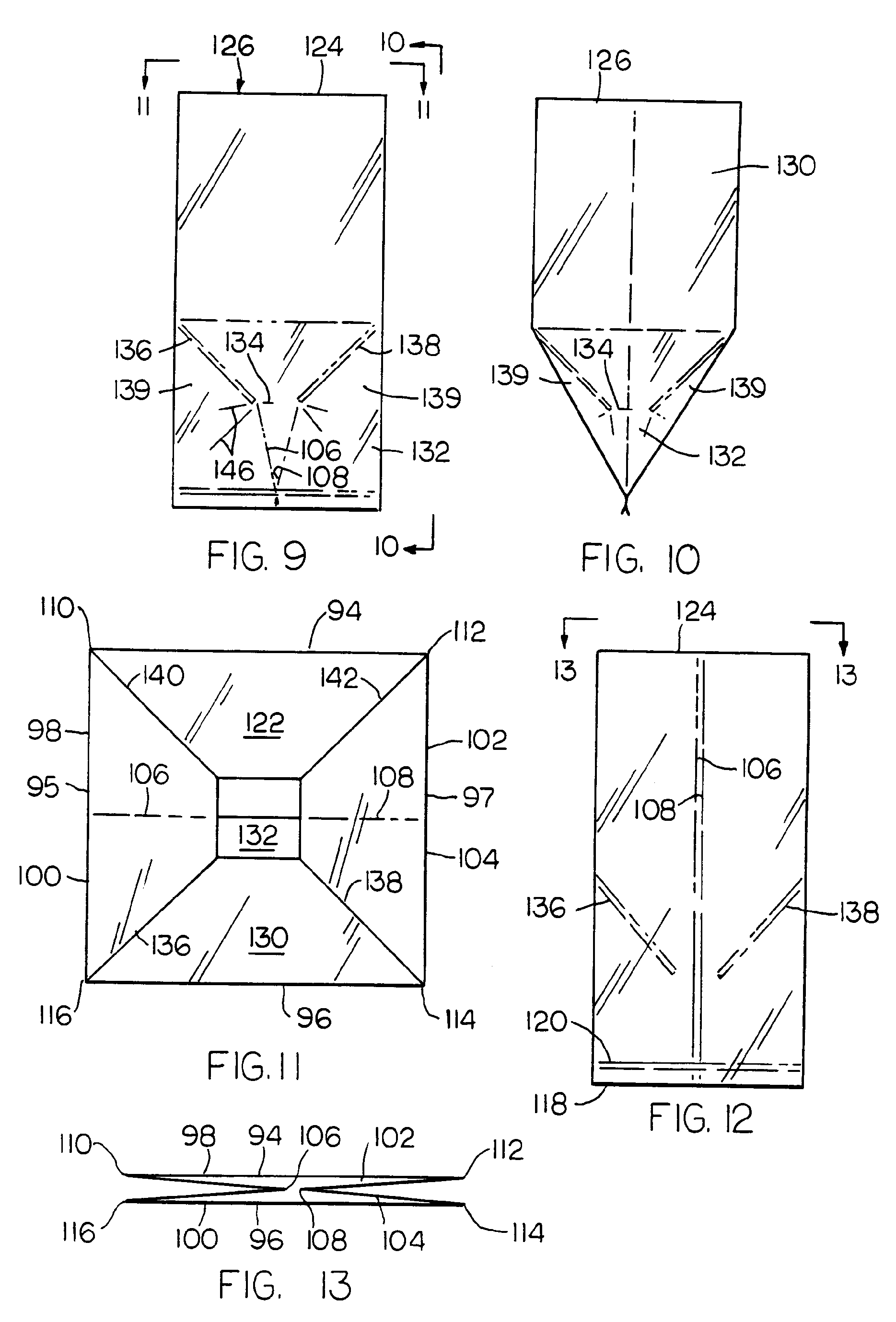
专利ep0418323b1 - tegument et procede de mise en culture et de
图片尺寸1869x2759
integumentary system
图片尺寸642x405
应该怎么办?
图片尺寸535x375
【4周达】integument and mammary glands
图片尺寸800x800
【预订】insect integument and colour
图片尺寸325x500
her glittering integument 2
图片尺寸2327x1735
hpv是什么感染后又有哪些症状你想知道的都在这
图片尺寸383x292
【预订】biology of the integument: 2
图片尺寸346x500
立德初二(2)班樊晟宇寒假素质作业
图片尺寸1334x750
internal anatomy of insects
图片尺寸476x384
嗜神经病毒/伪狂犬病毒prv价格,详情介绍-960化工网 – 960化工网
图片尺寸788x760
theintegumentofarthropods
图片尺寸1200x1600
news and announcements
图片尺寸369x383
特固美4清漆配2l固化剂
图片尺寸700x500
主要在医院内的center for studies and research on the integument
图片尺寸800x459