the carrier

【预售 按需印刷】the carrier
图片尺寸907x1360
《the carrier》2015(剧情/动作/科幻/惊悚)
图片尺寸954x1350
预订the carrier
图片尺寸261x400
thecarrier
图片尺寸300x414![[2015][欧美][剧情][web-1080p]病毒航班 the.carrier.2015.1080p.](https://imgs.wantubizhi.com/img/A1A61BAA66193547F3A6DD7D8EE527E962282A78690764E344D6B0CFD3792099AF25C3934A9D7EBD38C2F8ABE74D06599EB76DAF69B83EA99AB415693F53C4B6C76D735AF3DCA13C9678A6D5794F0855E3D2EB23D0EC3CCB2981316DE8E2720D)
[2015][欧美][剧情][web-1080p]病毒航班 the.carrier.2015.1080p.
图片尺寸1920x800
sketches: the carriers pigeon and other stories
图片尺寸1687x2370
determination of the carrier envelope phase for short
图片尺寸543x418
【预售】【翰德图书】the carrier bag theory of fiction,小说中的
图片尺寸800x800
预订the obligations of the carrier regarding the car
图片尺寸330x499
预订 jinny the carrier
图片尺寸333x499
私人歌单 the carrier 旧载体 self list vol
图片尺寸2041x1276
and figures of the first nuclear-powered aircraft carrier in the
图片尺寸1600x900
the carrier ハードコア 激情 shai hulud misery signals the ghost
图片尺寸1200x1200
【预售 按需印刷】cripps the carrier
图片尺寸959x1360
method of determining the carrier reference phase of coherent
图片尺寸2284x2938
预订the carrier:culver valley crime book 8
图片尺寸800x800
预订 the obligations of the carrier regarding the cargo
图片尺寸332x500
the epic of flight: carrier war : epic of flight by clark g.
图片尺寸500x375
预订 the carrier crisis
图片尺寸282x400
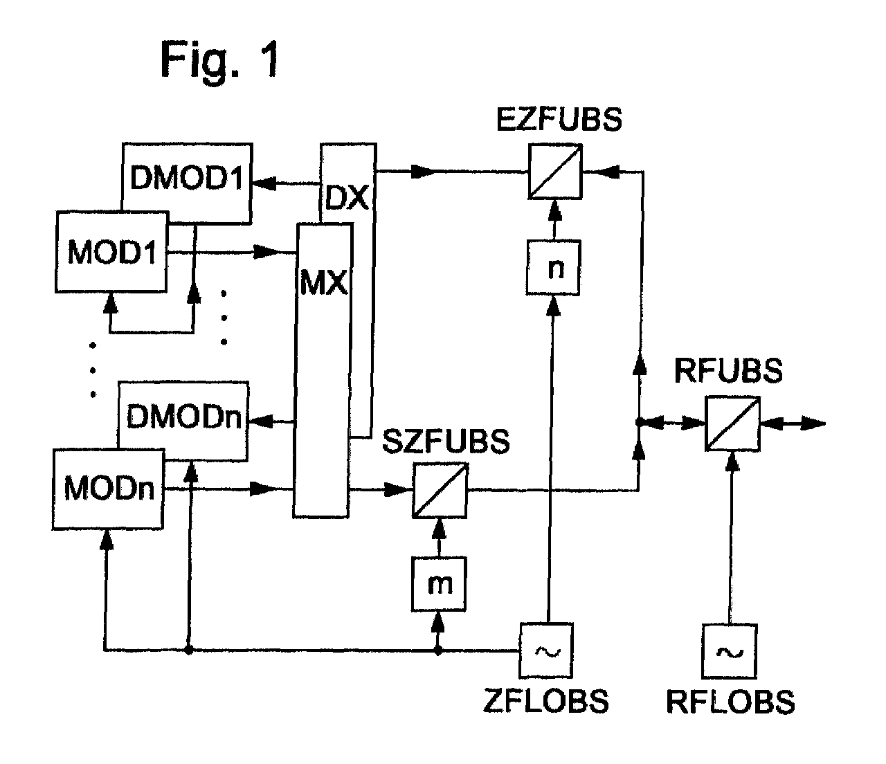
method ffor adjusting the carrier frequency of a user station in
图片尺寸1280x1104