turbineblade

turbine blade with near wall cooling
图片尺寸1348x1833
turbine blade & a47 | flickr – 相片分享!
图片尺寸375x500
wind turbine blade | flickr – 相片分享!
图片尺寸500x375
turbine blade including mistake proof feature
图片尺寸2099x2716
turbine blade
图片尺寸1751x2584
turbine blade
图片尺寸2019x2743
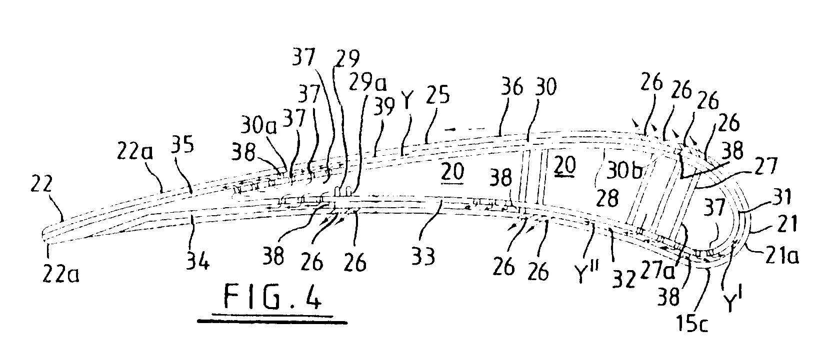
turbine blade with triple pass serpentine flow cooling circuit
图片尺寸2261x2575
turbine blade cooling
图片尺寸1680x723
how wind turbine blade dielectric changes affect lightning
图片尺寸1024x576
how wind turbine blade dielectric changes affect lightning
图片尺寸1024x683
turbine blade
图片尺寸1843x2752
skirted turbine blade
图片尺寸1684x2675
recovery tip turbine blade
图片尺寸2384x1913
turbine blade with triple pass serpentine flow cooling circuit
图片尺寸2244x2662
wind turbine blade
图片尺寸1351x2912
wind turbine blade with deflectable flaps
图片尺寸2045x2070
wind turbine blade
图片尺寸1129x2472
second stage turbine blade
图片尺寸500x500
a cooled turbine blade for a gas turbine
图片尺寸2128x3078
turbine blade and method for producing a turbine blade
图片尺寸2554x3586