turret lathe

vertical turret lathe
图片尺寸530x479
cdl6236 horizontal universal turret lathe for sale
图片尺寸1000x1000
vertical turret lathe - single column
图片尺寸1200x1136
cheapest good quality manual cnc vertical turret lathe with cnc
图片尺寸300x300
vertical turret lathe - single column
图片尺寸1200x1012
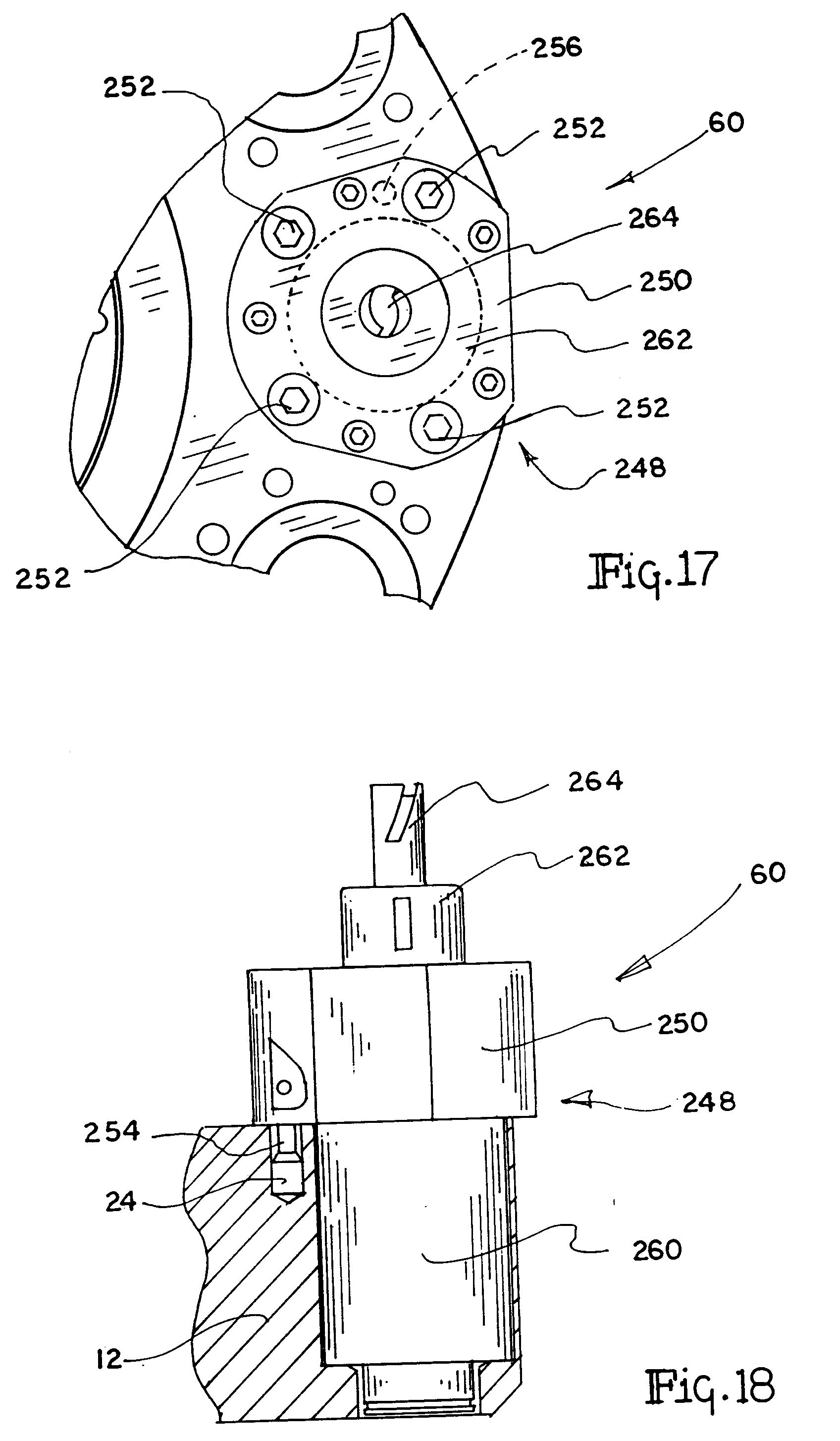
turret for turret lathe
图片尺寸1796x2579
manual turret chuck size 5000 vertical digital display lathe
图片尺寸700x532
long service life metal lathe cnc turret with wedge clamping
图片尺寸800x800
bullard dynatrol cnc vertical turret lathe 56"
图片尺寸585x480
vertical turret lathes
图片尺寸700x465
turret cnc lathe_product _foshan city guoqiang daosheng
图片尺寸1000x1000
cnc turret lathe — htxy series
图片尺寸960x546
turret lathe operators manual
图片尺寸1200x2132
vertical turret lathe tos sk 12
图片尺寸960x1280
cnc vertical turret lathe sedin 16 cnc
图片尺寸646x861
universal turret system for quick-change lathe tooling
图片尺寸1696x2908
vertical turret lathe - single column
图片尺寸1200x803
vertical turret lathe - single column
图片尺寸1200x802
bullard vertical turret lathe 34
图片尺寸375x500
c51 series single turret vertical type normal lathe
图片尺寸640x725