urethanefoam

洗碗刷
图片尺寸800x1066
muji无印良品折扣季之聚氨酯泡沫
图片尺寸1080x1439
开孔喷雾液体聚氨酯泡沫 - buy liquid polyurethane foam,spray
图片尺寸750x846
3m 4032 double coated urethane foam tape
图片尺寸678x884
sdc polyetherurethane foam sheetssm28 聚醚氨基甲酯泡沫板
图片尺寸583x427
保温防火pu发泡片材聚氨酯泡沫板 - buy polyurethane foam sheet,pu
图片尺寸800x2400
2020 korea factory flexible polyurethane foam tdi 80/20
图片尺寸698x1085
750ml rigid polyurethane foam for gardening
图片尺寸1045x1050
shuode ws11 all-season use polyurethane foam
图片尺寸1000x1333
large expansion pu polyurethane foam
图片尺寸5906x5906
two-pack urethane foam composition and two-pack urethane foam
图片尺寸1854x2220
pu foam, polyurethane foam
图片尺寸1200x500
dn630 urethane foam thermal insulation materials filled hdpe
图片尺寸593x427
waterproof expanding insulation liquid spray polyurethane foam
图片尺寸750x770
process for preparing a flexible polyurethane foam
图片尺寸2320x3408
polyurethane foam sponge, scouring pad
图片尺寸480x467
urethane foam block
图片尺寸640x640
urethanefoampillow
图片尺寸300x300
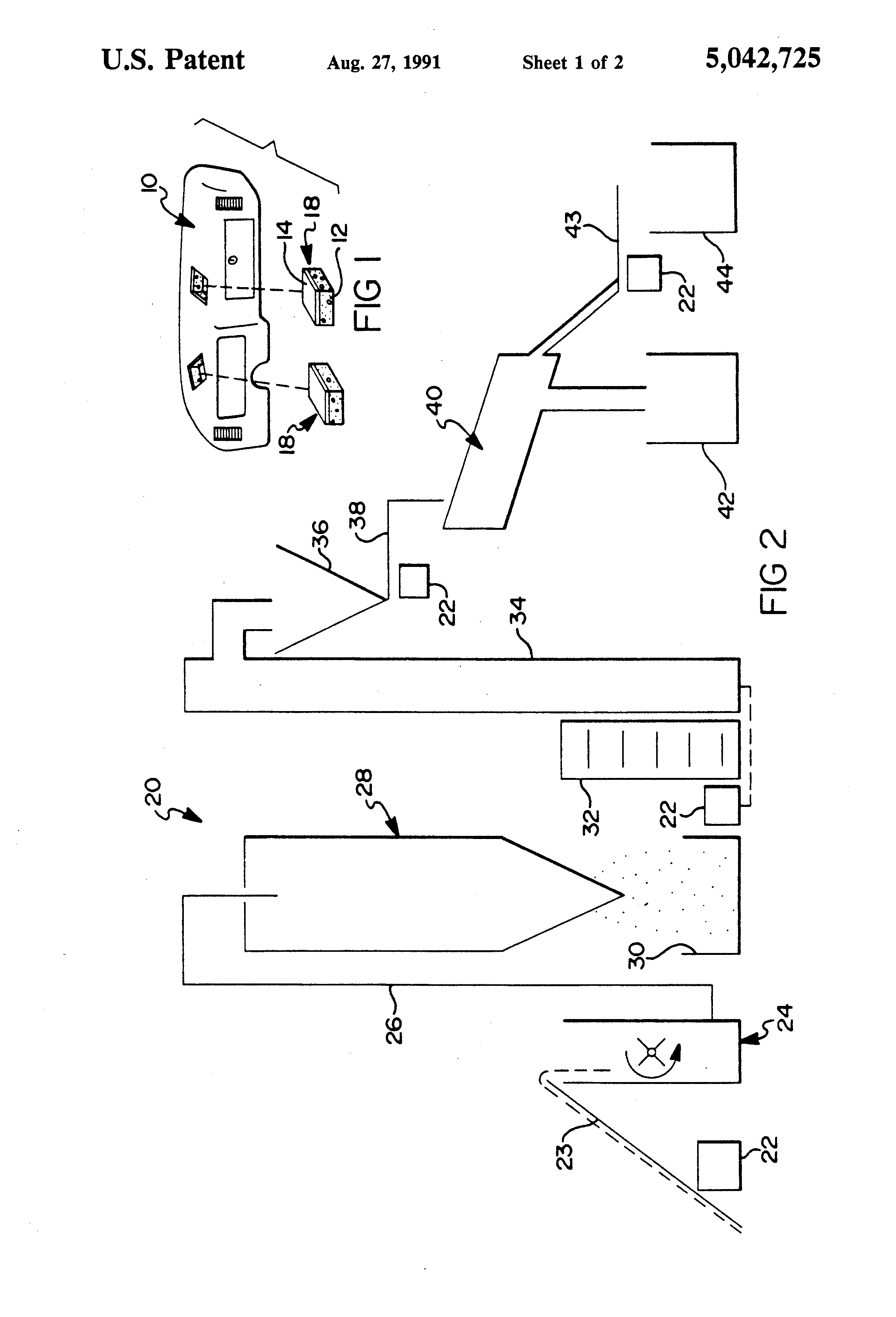
专利us5042725 - method for recovering pvc and urethane foam from
图片尺寸2320x3408
polyurethane foam resin water soluble polyurethane resin
图片尺寸1107x830