wagering

预订sports wagering in america, volume 1: policies
图片尺寸268x400
wagering game machine with three-dimensional wagering game
图片尺寸1605x2320
wagering game with communication feature for special wagers
图片尺寸2054x2857
enhanced parimutuel wagering
图片尺寸2209x3190
海外直订wagering the land: ritual, capital, and environmental
图片尺寸800x800
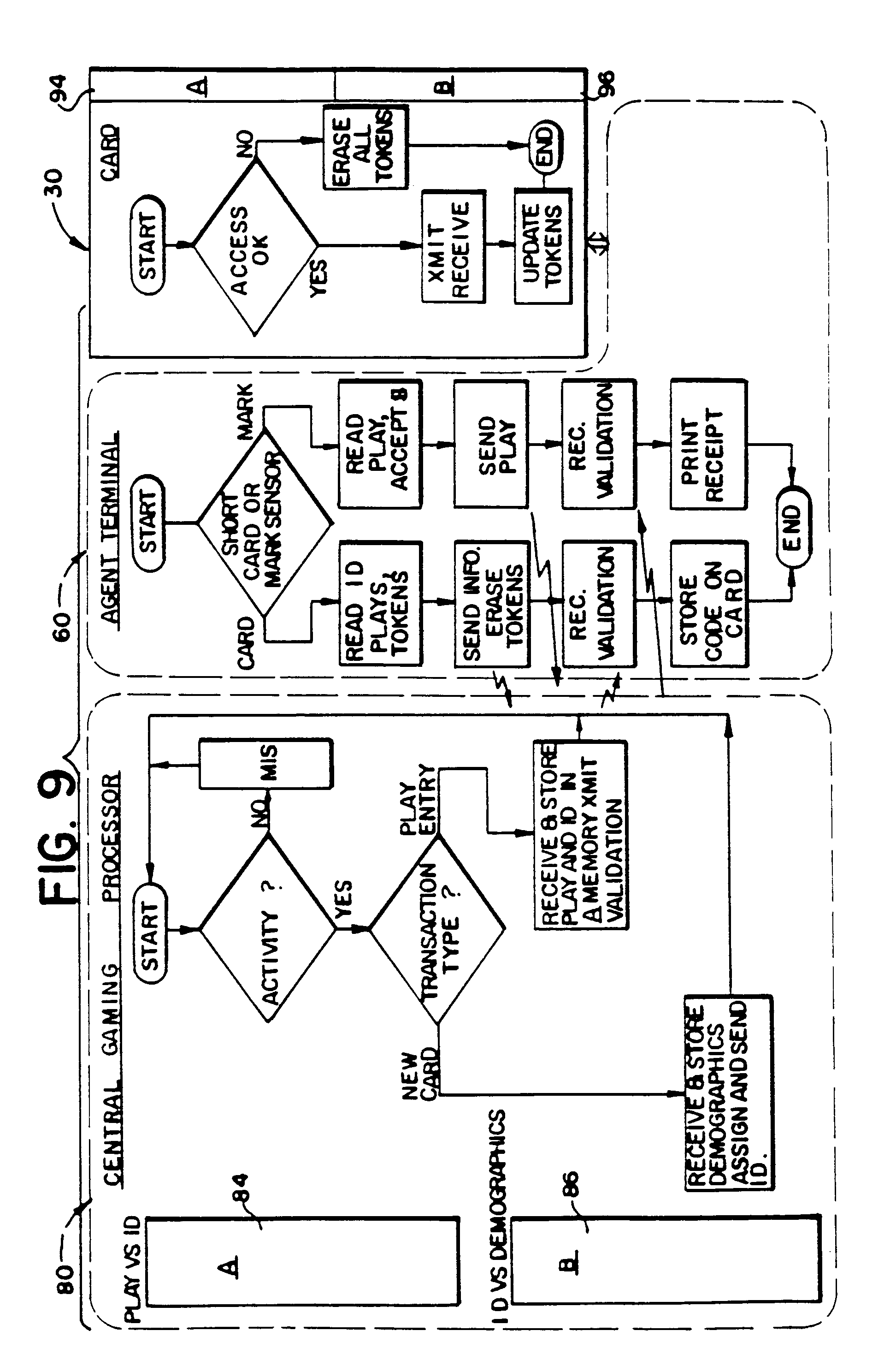
on-line wagering system with programmable game entry cards
图片尺寸1944x2962
wagering game machine with three-dimensional wagering game
图片尺寸2010x2397
预售 按需印刷 exotic wagering the winning way
图片尺寸907x1360
method for computerized wagering
图片尺寸1707x1733
wagering game system with docking stations
图片尺寸2150x2929
wagering game system with player rewards
图片尺寸1765x2518
wagering game establishment offer tailoring
图片尺寸2323x3240
wagering games with variable reel sizes and gaming devices for
图片尺寸2300x2673
video games adapted for wagering
图片尺寸1163x2019
wagering game machine with three-dimensional wagering game
图片尺寸1575x2020
method of playing a wagering card game
图片尺寸1866x2866
wagering gaming system with multiplier reel
图片尺寸2026x3027
专利us20040229671 - wagering system with automated entry system
图片尺寸1880x2192
wagering game with overlaying transmissive display for providing
图片尺寸2180x2800
handheld wagering game system and methods for conducting wage
图片尺寸1746x2036