waveaberration

residual wave aberration map and optical path difference (opd)
图片尺寸1600x630
光线像差与波前像差 ray aberration and wavefront aberration
图片尺寸1592x1088
please understand that colors may exist chromatic aberration as
图片尺寸1200x1200
rapid, automatic measurement of the eyes wave aberration
图片尺寸2798x3914
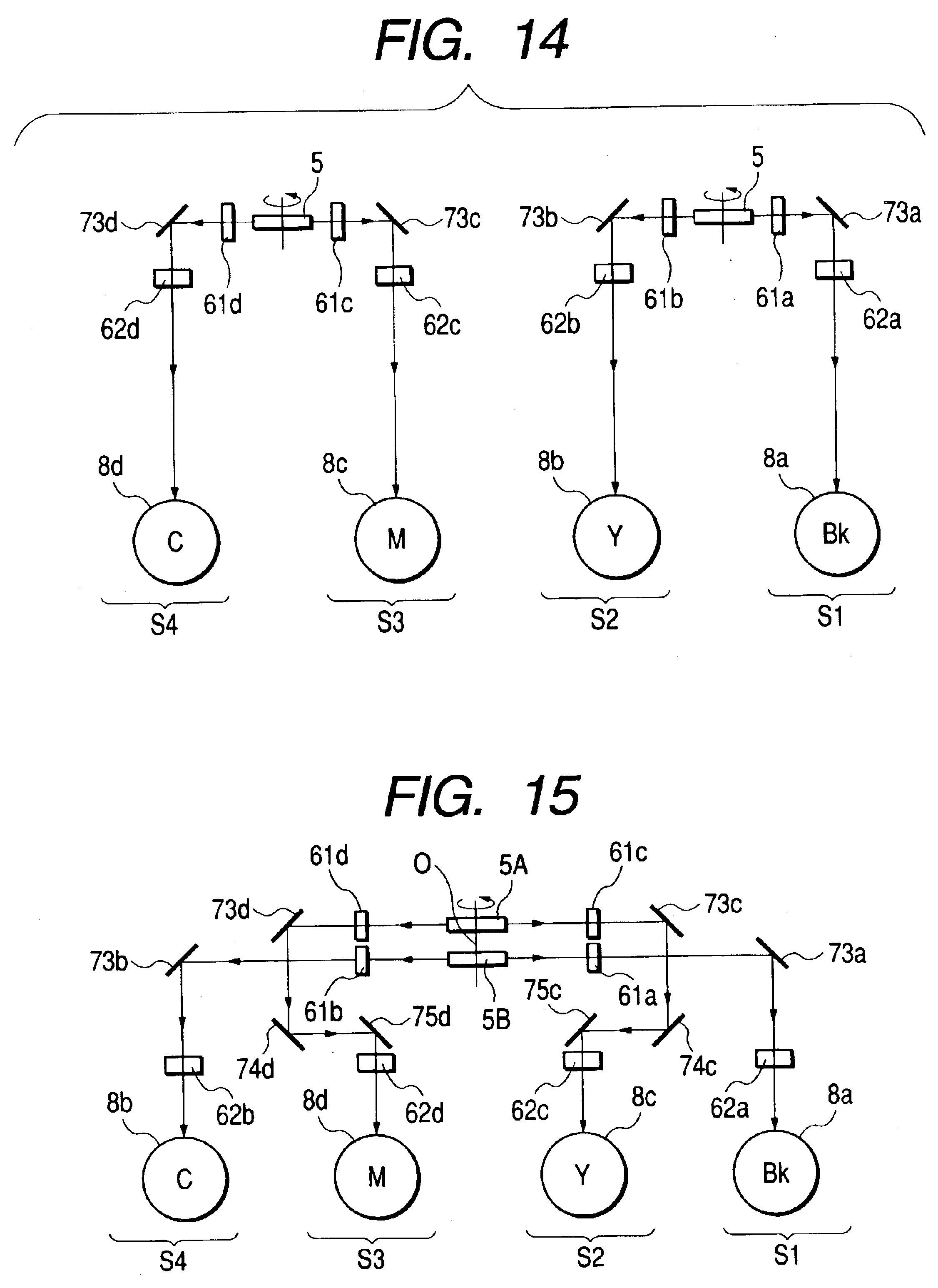
wavefront aberration compensation element, optical pickup, and
图片尺寸1904x2668
rapid, automatic measurement of the eyes wave aberration
图片尺寸2424x3318
profile curve of transmitted wave aberration
图片尺寸3248x1195
像差形式——波前像差 wavefront aberration
图片尺寸4171x6121
diffraction distributions of (a) coma wavefront aberration
图片尺寸3150x931
example of the wavefront aberration (a) and the associated point
图片尺寸897x1280
scanning optical apparatus with reduced wave aberration
图片尺寸2253x3092
经典教材---几何光学像差理论---aberration theory
图片尺寸1188x918
wavefront aberration correcting device and optical pickup
图片尺寸1677x2123
光线像差与波前像差 ray aberration and wavefront aberration
图片尺寸652x479
wavefront aberration compensation element, optical pickup, and
图片尺寸1622x2775
brown和wolf称这种偏差为波前像差(wavefront aberration)
图片尺寸402x371
refractions and high order aberration correction when wavefront
图片尺寸2084x2858
while the alabama senate special election was an aberration in
图片尺寸710x473
wavefront aberration measurement apparatus, exposure apparatus
图片尺寸1488x2695
wavefront aberration compensation element, optical pickup, and
图片尺寸1870x1048