weftyarn

100% polyester dty 75d/36f/120tpm twisted weft yarn for label
图片尺寸640x640
manufacturer 50-300d semi dull cone dyed polyester weft yarn for
图片尺寸2000x1687
cq chinese suppliers low price sell 100% polyester weft yarn for
图片尺寸2000x1500
fdy 30d monofilament plying plum color weft yarn
图片尺寸750x750
carpet yarn weft
图片尺寸640x640
blended weaving yarn for weft
图片尺寸300x296
factory cotton yarn manufacturer recycled weft yarn cheap yarn
图片尺寸1000x664
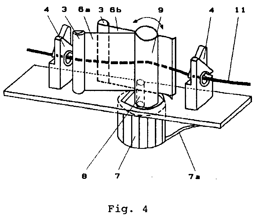
weft yarn handling apparatus in a jet loom
图片尺寸1840x2133
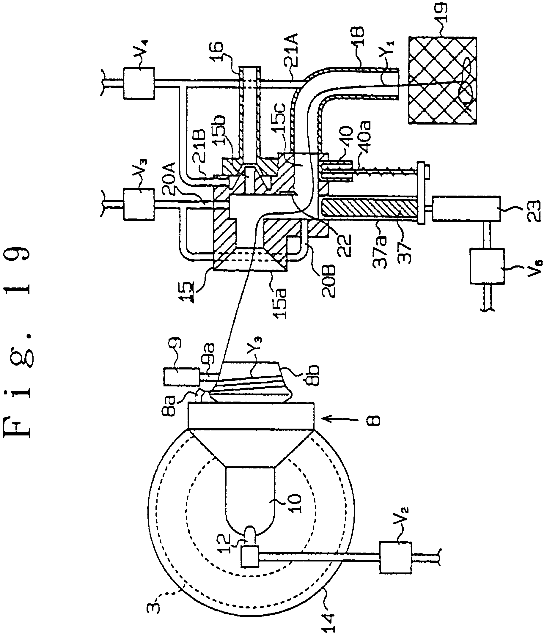
weft yarn presentation device for looms
图片尺寸1856x2344
warp&weft yarn(making tape)
图片尺寸500x500
weft yarn brake with controllable braking
图片尺寸896x768
100 cotton denim fabric good quality fresh weft yarn denim stock
图片尺寸1200x800
dying skein silk yarn weaving weft yarn for shining and soft
图片尺寸1000x1000
100 cotton denim fabric good quality fresh weft yarn denim stock
图片尺寸1200x800
100 % organic cotton material 20s yarn weft heavy tubular indigo
图片尺寸900x596
a method and an apparatus for detecting the weft yarn in a jet
图片尺寸2100x1988
plain weft yarn dyed jersey fabric with spandex
图片尺寸999x1000
cottonyarnforweftknitting
图片尺寸300x300
elastic suede and weft denim yarn
图片尺寸700x467
multi color tc jacquard knitting weft yarn dyed knitted fabric
图片尺寸750x500