windscreenwiper

26 inch 22 inch front windscreen wiper blades for right hand
图片尺寸1200x1200
windscreen wiper
图片尺寸579x869
*car rear windshild windscreen wiper arm nut cover cap for s
图片尺寸935x1000
windscreen wiper fit on 98% small car accessories automotive
图片尺寸550x433
windscreen wiper device
图片尺寸1806x2954
有关以下物品的详细资料: nissan micra windscreen wiper blades
图片尺寸1024x768
windscreen wiper device
图片尺寸1968x2610
windshield wiper arm universal type windscreen wiper blade
图片尺寸600x480
windscreen wiper device
图片尺寸1821x2441
universal car wiper repair tool windscreen wiper blade wiper
图片尺寸800x800
windscreen wiper device
图片尺寸1797x2912
windscreen wiper device
图片尺寸1724x1299
windscreen wiper
图片尺寸450x450
wipers all-season blade universal marine windscreen wipers to
图片尺寸1000x1000
280 windscreen wiper motor v dc
图片尺寸700x404
2pc car wiper blade windscreen strip soft wipers natural rub
图片尺寸800x800
multifunction metal windscreen wiper blades for vehicle
图片尺寸600x600
high quality windscreen wiper hy-960 refresh multi-fit wiper
图片尺寸720x480
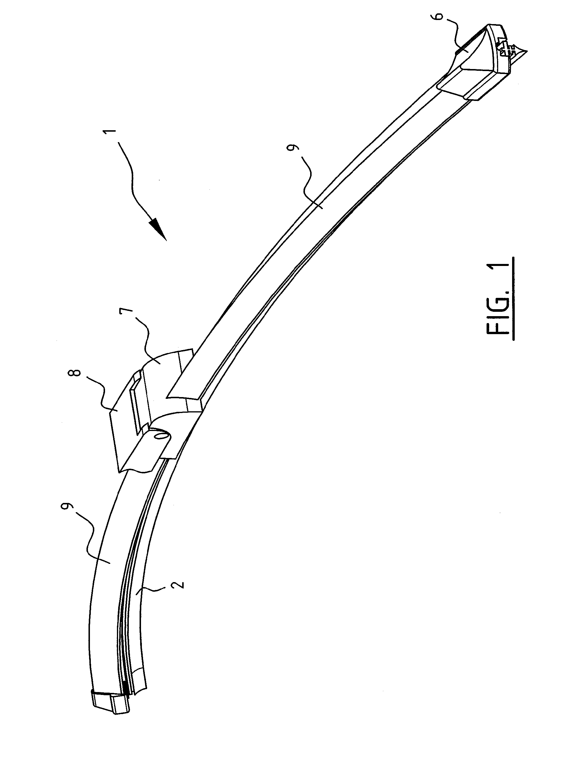
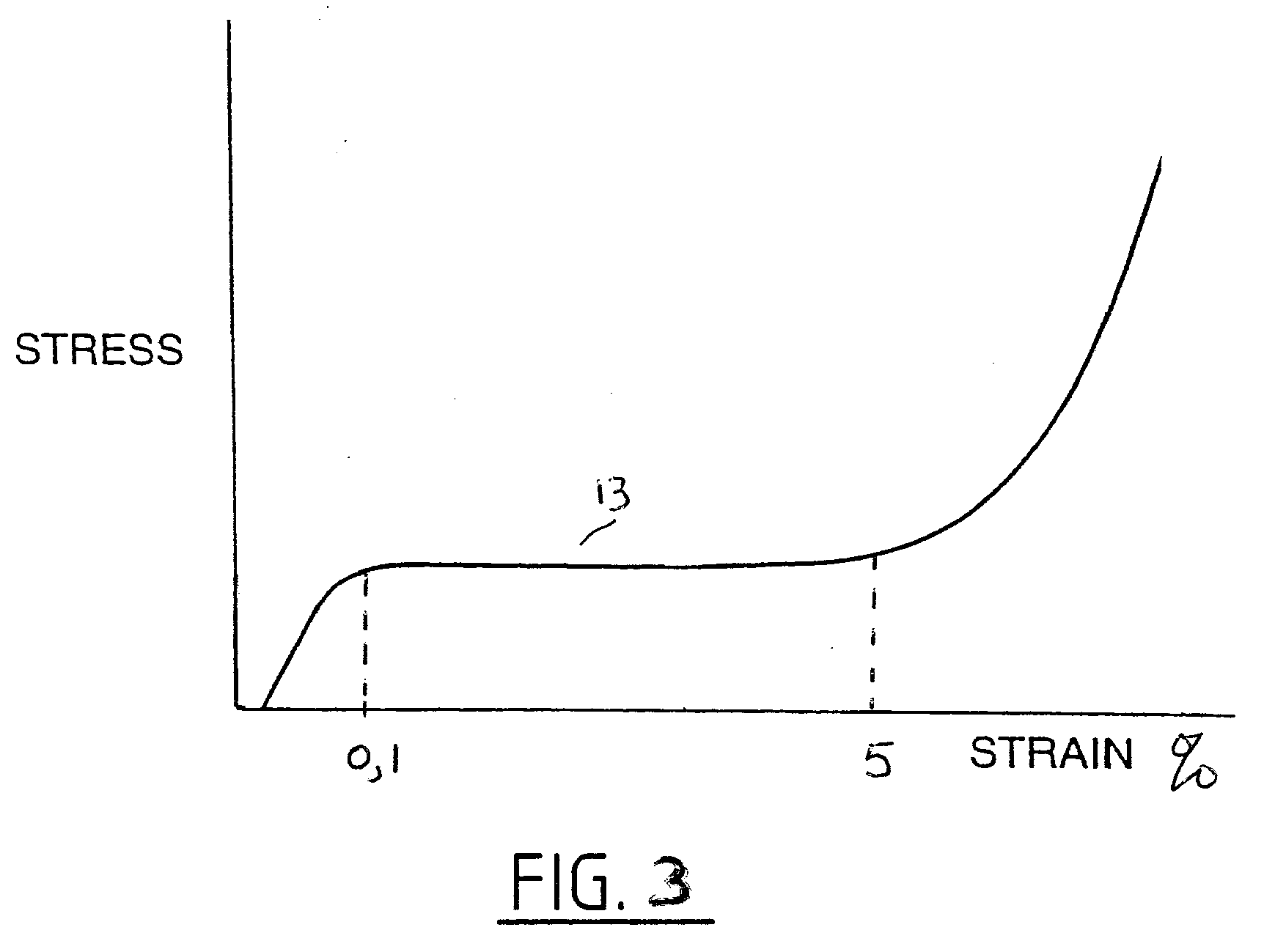
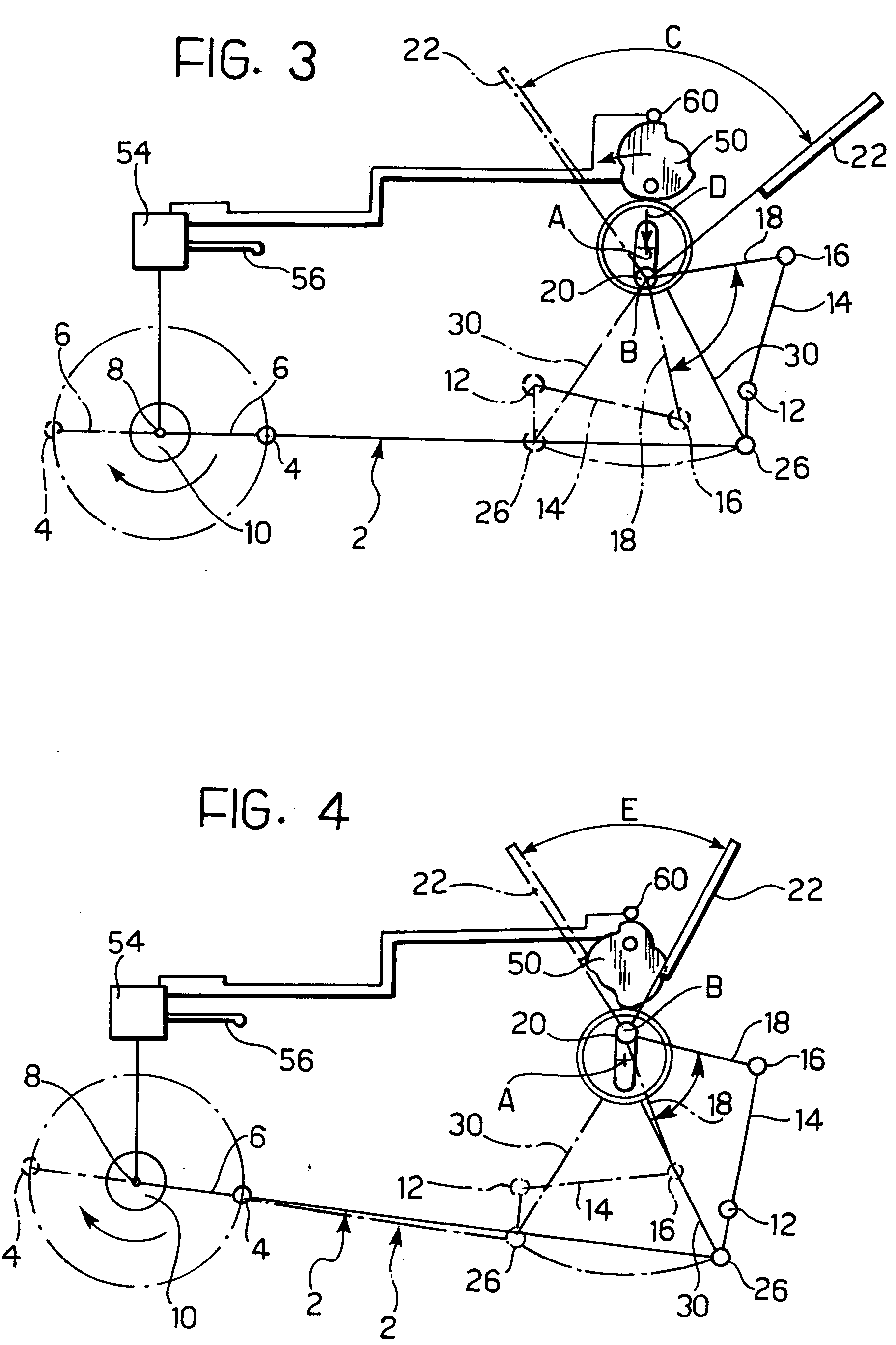
a variable-travel windscreen wiper device
图片尺寸1824x2737
kction factory premium quality rear windscreen wiper blade arm
图片尺寸1920x1080